Запчасти Komatsu WA800L-3 ТОПЛИВН. БАК. ТОПЛИВН. БАК. AND КОМПОНЕНТЫ

Схема запчастей Komatsu WA800L-3 - ТОПЛИВН. БАК. ТОПЛИВН. БАК. AND КОМПОНЕНТЫ
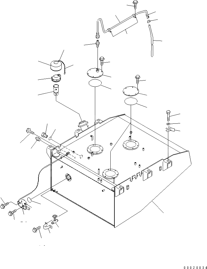
1
2
3
4
5
6
7
8
9
9
10
10
11
12
13
14
15
16
17
17
18
19
20
21
22
23
24
25
26
27
28
29
29
30
FIT
1:1
100%

Артикул

Название

Примечание

Количество

1

427-04-21912

TANK,FUEL

SN: 52003-UP

1шт.

1

0

TANK,FUEL

SN: 52001-52002

1шт.

2

01011-63000

BOLT

SN: 52001-UP

6шт.

3

01643-33080

WASHER

SN: 52001-UP

6шт.

4

416-855-1190

SHIM, 0.5MM

SN: 52001-UP

10шт.

5

19M-04-11220

CAP

SN: 52001-UP

1шт.

6

07056-18416

STRAINER

SN: 52001-UP

1шт.

7

428-04-11120

COVER

SN: 52001-UP

2шт.

8

427-04-A1220

COVER

SN: 52001-UP

1шт.

9

07000-15200

O-RING

SN: 52001-UP

3шт.

10

01435-01025

BOLT

SN: 52001-UP

18шт.

11

416-04-10131

VALVE,DRAIN

SN: 52001-UP

1шт.

12

419-04-11120

COVER

SN: 52001-UP

1шт.

13

01435-00816

BOLT

SN: 52001-UP

2шт.

14

426-04-11150

PLUG

SN: 52001-UP

1шт.

15

07238-10522

CONNECTOR

SN: 52001-UP

1шт.

16

427-04-A2400

TUBE

SN: 52001-UP

1шт.

17

04434-51810

CLIP

SN: 52001-UP

3шт.

18

01435-01020

BOLT

SN: 52001-UP

3шт.

19

07286-01945

TUBE

SN: 52001-UP

1шт.

20

07280-02523

CLAMP,HOSE

SN: 52001-UP

1шт.

21

421-60-11622

GAUGE,SIGHT

SN: 52001-UP

1шт.

22

07002-15234

O-RING

SN: 52001-UP

1шт.

23

427-04-21260

COVER

SN: 52001-UP

1шт.

24

421-35-14370

RING

SN: 52001-UP

2шт.

25

427-04-21270

CHAIN

SN: 52001-UP

1шт.

26

7861-92-4850

SENSOR,FUEL

SN: 52001-UP

1шт.

27

07000-12085

O-RING

SN: 52001-UP

1шт.

28

04434-50510

CLIP

SN: 52001-UP

2шт.

29

01435-01016

BOLT

SN: 52001-UP

4шт.

30

01435-00812

BOLT

SN: 52001-UP

1шт.

Выбрано товаров: 31