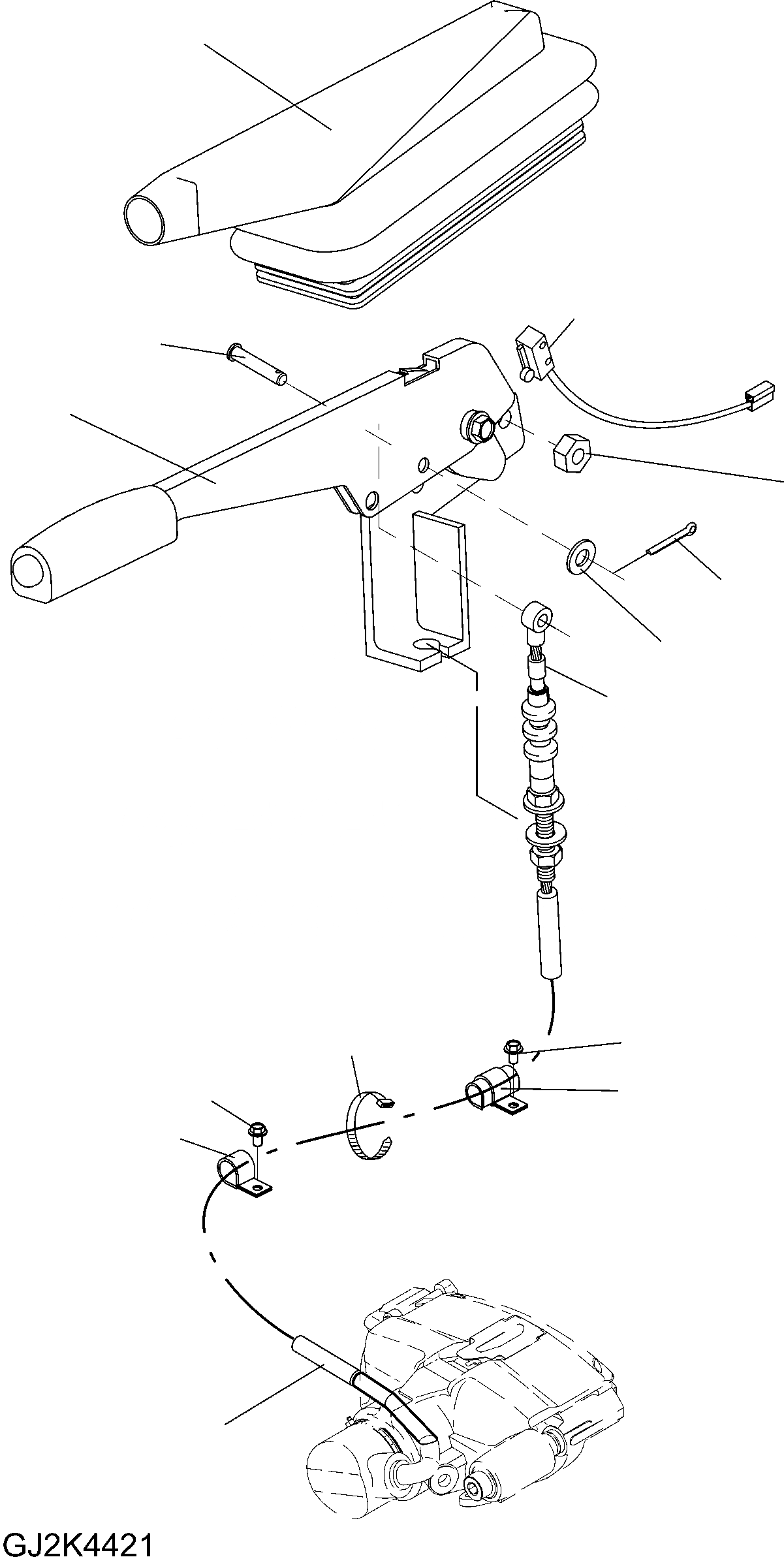
Запчасти Komatsu WA90-5 30 km HAND ТОРМОЗ. И OPERATING ASSEMBLY 9 ТОРМОЗ. СИСТЕМА

Схема запчастей Komatsu WA90-5 30 km - HAND ТОРМОЗ. И OPERATING ASSEMBLY 9 ТОРМОЗ. СИСТЕМА
7
2
4
1
12
6
5
3
13
9
9
8
10
11
FIT
1:1
100%

Артикул

Название

Примечание

Количество

1

42T-22-26141

BRAKE LEVER

1шт.

2

42W-22-H0P01

SWITCH

1шт.

3

42W-22-26100

BRAKE WIRE

1шт.

4

421-09-H2340

PIN

1шт.

5

01641-20812

PLAIN WASHER

1шт.

6

04050-12015

COTTER

1шт.

7

42T-22-26120

BELLOWS

1шт.

8

42R-09-H1070

CLIP

2шт.

9

01024-81016

SCREW

4шт.

10

04434-51810

CLIP

2шт.

11

07095-20213

PROTECTOR

2шт.

12

01580-10806

NUT

2шт.

13

08034-20834

BAND

1шт.

Выбрано товаров: 0