Запчасти Komatsu WA900-1L FIG NO. B ТОПЛИВН. БАК. КОМПОНЕНТЫ ДВИГАТЕЛЯ & ЭЛЕКТРИКА

Схема запчастей Komatsu WA900-1L - FIG NO. B ТОПЛИВН. БАК. КОМПОНЕНТЫ ДВИГАТЕЛЯ & ЭЛЕКТРИКА
17
16
18
15
20
25
16
16
26
24
14
13
19
28
10
27
30
29
28
13
3
12
11
4
12
5
22
6
23
21
2
1
7
8
9
FIT
1:1
100%

Артикул

Название

Примечание

Количество

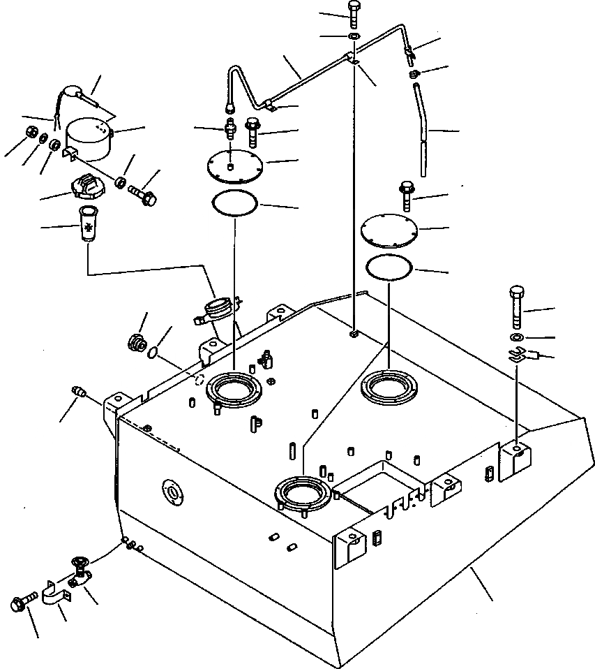
1

427-04-11155

TANK, FUEL

1шт.

2

426-04-11150

PLUG

1шт.

3

19M-04-11220

CAP

1шт.

|$3

07050-21202

GASKET

1шт.

4

07056-18416

STRAINER

1шт.

5

421-60-11622

GAUGE, SIGHT

1шт.

6

07002-15234

O-RING

1шт.

7

416-04-10131

VALVE

1шт.

8

419-04-11120

COVER

1шт.

9

01435-00816

BOLT

2шт.

10

427-04-11292

COVER

1шт.

11

428-04-11120

COVER

2шт.

12

07000-15200

O-RING

3шт.

13

01435-01025

BOLT

18шт.

14

07214-71013

CONNECTOR

1шт.

15

427-04-11160

TUBE

1шт.

16

424-04-11120

CLIP

3шт.

17

01010-81020

BOLT

3шт.

18

01643-31032

WASHER

3шт.

19

07270-21045

TUBE

1шт.

20

07280-01620

CLAMP

1шт.

21

416-855-1190

SHIM, 0.5MM

10шт.

22

01011-63000

BOLT

6шт.

23

01643-33080

WASHER

6шт.

24

427-04-11321

CAP

1шт.

|$25

426-46-12290

LINCH PIN ASS'Y

1шт.

25

426-46-12280

PIN, LINCH

1шт.

26

04050-15075

PIN, COTTER

1шт.

27

01435-00870

BOLT

1шт.

28

427-04-11330

SPACER

2шт.

29

01643-30823

WASHER

1шт.

30

01596-00807

NUT, LOCK

1шт.

Выбрано товаров: 32