Запчасти Komatsu WA900-1L FIG NO. НАСОС РУЛЕВ. УПРАВЛ-Я (/) УПРАВЛ-Е РАБОЧИМ ОБОРУДОВАНИЕМ

Схема запчастей Komatsu WA900-1L - FIG NO. НАСОС РУЛЕВ. УПРАВЛ-Я (/) УПРАВЛ-Е РАБОЧИМ ОБОРУДОВАНИЕМ
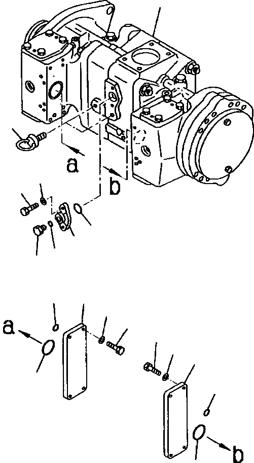
1
13
5
4
3
2
7
6
10
8
12
11
11
12
8
9
10
9
FIT
1:1
100%

Артикул

Название

Примечание

Количество

|$0

708-45-10104

PUMP ASS'Y

1шт.

1

PUMP SUB ASS'Y (SEE PG 06-034)

-29шт.

2

708-25-19120

FLANGE

1шт.

3

07000-32021

O-RING

1шт.

4

01010-30820

BOLT

2шт.

5

01602-00825

WASHER, SPRING

2шт.

6

07040-12012

PLUG

1шт.

7

07002-32034

O-RING

1шт.

8

708-45-19981

PLATE

2шт.

9

07000-33048

O-RING

2шт.

10

07000-21009

O-RING

10шт.

11

01010-30830

BOLT

8шт.

12

01643-30823

WASHER

8шт.

13

04530-01018

BOLT, EYE

2шт.

Выбрано товаров: 14