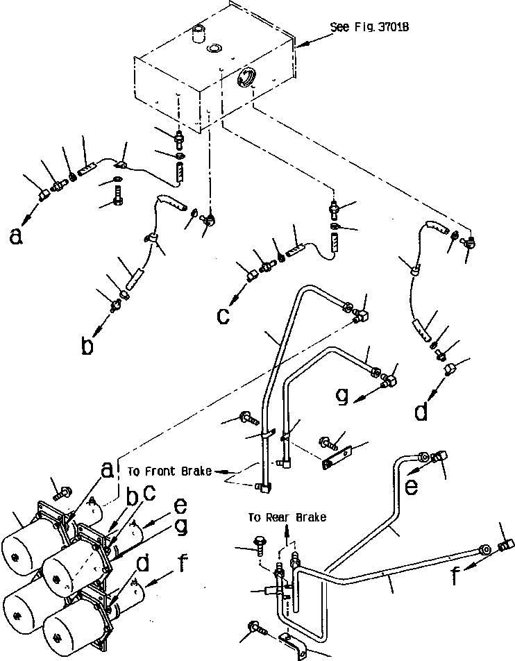
Запчасти Komatsu WA900-1L FIG NO. 7B ТОРМОЗ. МАСЛОПРОВОДЯЩАЯ ЛИНИЯ (БАК - КАМЕРА) ВЕДУЩ. ВАЛ

Схема запчастей Komatsu WA900-1L - FIG NO. 7B ТОРМОЗ. МАСЛОПРОВОДЯЩАЯ ЛИНИЯ (БАК - КАМЕРА) ВЕДУЩ. ВАЛ
8
6
11
9
9
8
10
13
8
12
9
9
9
8
7
11
5
10
9
11
9
7
8
10
3
9
16
8
17
10
14
21
24
22
23
20
2
15
1
15
18
22
21
19
26
25
4
FIT
1:1
100%

Артикул

Название

Примечание

Количество

1

BRAKE CHAMBER ASS'Y (SEE PG 03-094)

-29шт.

2

01435-01230

BOLT

16шт.

3

07260-21463

HOSE

1шт.

4

07260-21422

HOSE

1шт.

5

07260-21450

HOSE

1шт.

6

07260-21455

HOSE

1шт.

7

425-35-11660

ELBOW

2шт.

8

425-35-11650

NIPPLE

6шт.

9

07281-00259

CLAMP

8шт.

10

565-44-15380

ELBOW

3шт.

11

08036-02514

CLIP

3шт.

12

01010-81016

BOLT

3шт.

13

01643-31032

WASHER

3шт.

14

195-04-12280

ELBOW

2шт.

15

195-04-12280

ELBOW

2шт.

16

427-35-13371

TUBE

1шт.

17

427-35-12511

TUBE

1шт.

18

427-35-13320

TUBE

1шт.

19

427-35-12491

TUBE

1шт.

20

421-09-12170

CLIP

1шт.

21

04434-52110

CLIP

3шт.

22

01435-01020

BOLT

2шт.

23

427-35-13350

PLATE

1шт.

24

01435-01020

BOLT

1шт.

25

427-35-13340

PLATE

1шт.

26

01435-01020

BOLT

1шт.

Выбрано товаров: 26