Запчасти Komatsu WA900-1LC A20008-UP FIG NO. ПОГРУЗ. НАСОС (СЕРВОКЛАПАН, ЗАДН. /) (/) УПРАВЛ-Е РАБОЧИМ ОБОРУДОВАНИЕМ

Схема запчастей Komatsu WA900-1LC A20008-UP - FIG NO. ПОГРУЗ. НАСОС (СЕРВОКЛАПАН, ЗАДН. /) (/) УПРАВЛ-Е РАБОЧИМ ОБОРУДОВАНИЕМ
11
10
25
12
24
9
8
26
21
23
6
7
19
5
4
18
31
29
3
30
2
17
1
16
2
28
27
2
20
14
22
23
13
21
26
24
15
25
20
FIT
1:1
100%

Артикул

Название

Примечание

Количество

|$0

PUMP ASS'Y (SEE PG 06-002)

-29шт.

|$1

VALVE ASS'Y, SERVO, REAR (SEE PG 06-028)

-29шт.

|$2

708-25-66201

VALVE SUB ASS'Y, SERVO

1шт.

|$3

708-23-07021

BODY ASS'Y

1шт.

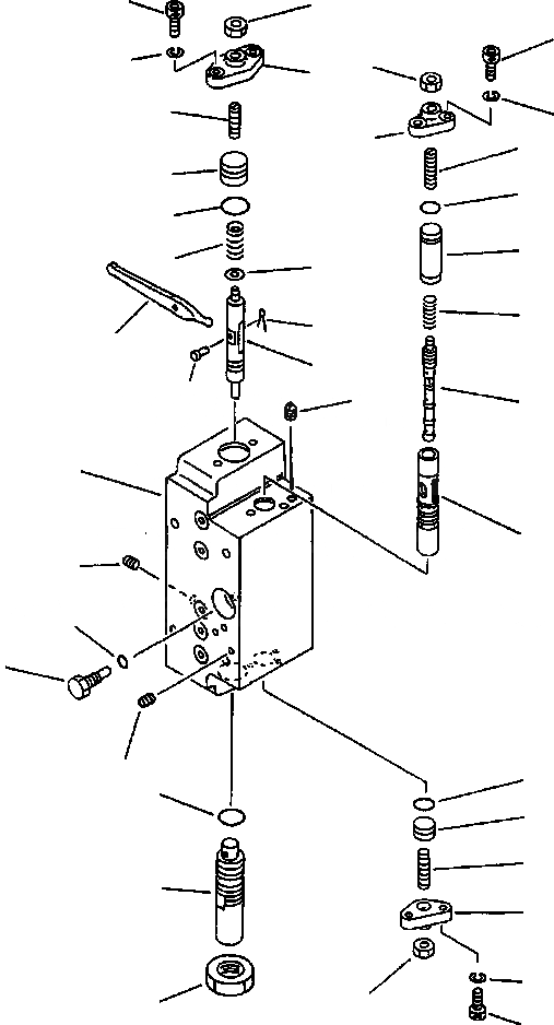
1

NSS

BODY

1шт.

2

NSS

EXPANDER

5шт.

3

708-25-15120

PISTON

1шт.

4

708-25-15130

SEAT

1шт.

5

708-25-15140

SPRING

1шт.

6

708-25-15420

PLUG

1шт.

7

07000-32018

O-RING

1шт.

8

708-25-15340

SCREW

1шт.

9

708-25-15150

COVER

1шт.

10

01580-10806

NUT

1шт.

11

708-25-15320

BOLT

2шт.

12

01602-20619

WASHER, SPRING

2шт.

13

708-25-65170

PLUG

1шт.

14

07002-32034

O-RING

1шт.

15

07239-12009

NUT

1шт.

16

708-25-15180

SLEEVE

1шт.

17

708-25-15280

SPOOL

1шт.

18

708-25-15310

SPRING

1шт.

19

708-25-15330

SPACER

1шт.

20

07000-32012

O-RING

2шт.

21

708-25-15250

COVER

2шт.

22

708-25-15430

PLUG

1шт.

23

708-25-15340

SCREW

2шт.

24

01580-10806

NUT

2шт.

25

708-25-15320

BOLT

4шт.

26

01602-20619

WASHER, SPRING

4шт.

27

708-25-15260

PLUG

1шт.

28

07002-30823

O-RING

1шт.

29

708-25-15270

ARM

1шт.

30

04205-00514

PIN

1шт.

31

04050-01210

PIN, COTTER

1шт.

Выбрано товаров: 35