Запчасти Komatsu WA900-1LC A20008-UP ТУРБОНАГНЕТАТЕЛЬ ГОЛОВКА ЦИЛИНДРОВ

Схема запчастей Komatsu WA900-1LC A20008-UP - ТУРБОНАГНЕТАТЕЛЬ ГОЛОВКА ЦИЛИНДРОВ
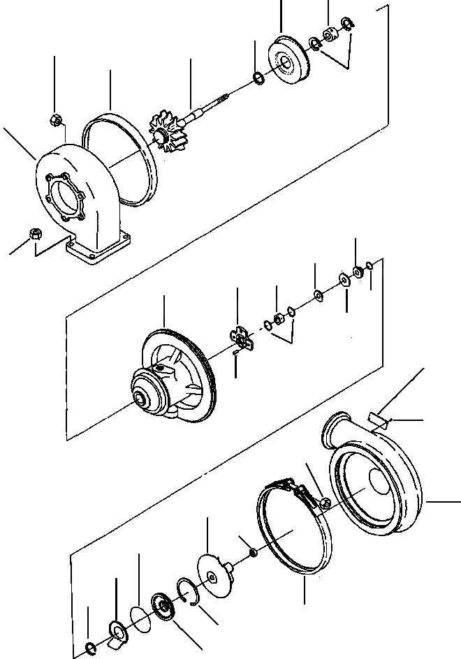
23
2
5
8
14
1
21
20
10
26
27
23
15
17
6
9
21
7
18
3
8
19
16
4
25
13
22
12
24
11
FIT
1:1
100%

Артикул

Название

Примечание

Количество

|$0

6216-84-1200

TURBOCHARGER ASSEMBLY

2шт.

|$1

NSS

TURBOCHARGER

1шт.

1

6216-84-8450

CLAMP, V-BAND

1шт.

2

6216-84-8220

SHIELD, HEAT

1шт.

3

6736-81-8480

SCREW, DRIVE

2шт.

4

6216-84-8230

NUT, LOCK

1шт.

5

6216-84-8240

SEAL, SPLIT RING

2шт.

6

6216-84-8250

SEAL, SPLIT RING

2шт.

7

NSS

DATAPLATE

1шт.

8

6736-81-8510

NUT (1/4 - 28 UNF)

2шт.

9

6216-84-8260

COLLAR, THRUST

1шт.

10

6216-84-8270

SLINGER, OIL

1шт.

11

6216-84-8280

PLATE, OIL SEAL

1шт.

12

6216-84-8290

CLAMP, V-BAND

1шт.

13

6216-84-8310

BAFFLE, OIL

1шт.

14

NSS

SHAFT AND WHEEL

1шт.

15

6216-84-8330

BEARING, THRUST

1шт.

16

6216-84-8340

IMPELLER, COMPRESSOR

1шт.

17

NSS

HOUSING, TURBOCHARGER BEARING

1шт.

18

6216-84-8360

PIN, ROLL

2шт.

19

NSS

HOUSING, COMPRESSOR

1шт.

20

NSS

HOUSING, TURBINE

1шт.

21

6216-84-8380

RING, RETAINING

4шт.

22

6216-84-8390

RING, RETAINING

1шт.

23

6216-84-8410

BEARING, TURBOCHARGER

2шт.

24

6216-84-8420

RING, RETAINING

1шт.

25

6216-84-8430

SEAL, O-RING

1шт.

26

6216-84-8440

SLEEVE, OIL CONTROL

1шт.

27

6114-11-5590

NUT, MOUNTING

8шт.

Выбрано товаров: 29