Запчасти Komatsu WA900-3 КАПОТ (СУППОРТ)(№-9) ЧАСТИ КОРПУСА

Схема запчастей Komatsu WA900-3 - КАПОТ (СУППОРТ)(№-9) ЧАСТИ КОРПУСА
1
1
2
2
2
3
3
3
3
3
4
4
4
4
4
5
6
7
7
8
8
9
10
10
11
11
FIT
1:1
100%

Артикул

Название

Примечание

Количество

1

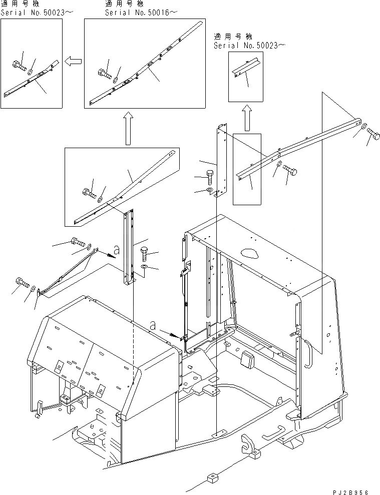
427-54-21211

BRACKET,L.H.

SN: 50023-50029

1шт.

|1

0

BRACKET,L.H.

SN: 50001-50022

1шт.

2

427-54-21222

BRACKET,R.H.

SN: 50023-50029

1шт.

|2

0

BRACKET,R.H.

SN: 50016-50022

1шт.

|2

427-54-21220

BRACKET,R.H.

SN: 50001-50015

1шт.

3

01010-81230

BOLT

SN: 50014-@

10шт.

4

01643-31232

WASHER

SN: 50014-@

10шт.

5

427-54-21230

BRACKET,L.H.

SN: 50001-@

1шт.

6

427-54-21240

BRACKET,R.H.

SN: 50001-@

1шт.

7

01010-81225

BOLT

SN: 50014-@

4шт.

8

01643-31232

WASHER

SN: 50014-@

4шт.

9

427-54-21251

SUPPORT,R.H.

SN: 50001-50029

1шт.

10

01010-81230

BOLT

SN: 50014-50029

2шт.

11

01643-31232

WASHER

SN: 50014-50029

2шт.

Выбрано товаров: 14