Запчасти Komatsu WA900-3 ТОПЛИВН. БАК. (С ТОПЛИВН. БЫСТРОСЪЕМН. МЕХ-М)(№-9) ТОПЛИВН. БАК. AND КОМПОНЕНТЫ

Схема запчастей Komatsu WA900-3 - ТОПЛИВН. БАК. (С ТОПЛИВН. БЫСТРОСЪЕМН. МЕХ-М)(№-9) ТОПЛИВН. БАК. AND КОМПОНЕНТЫ
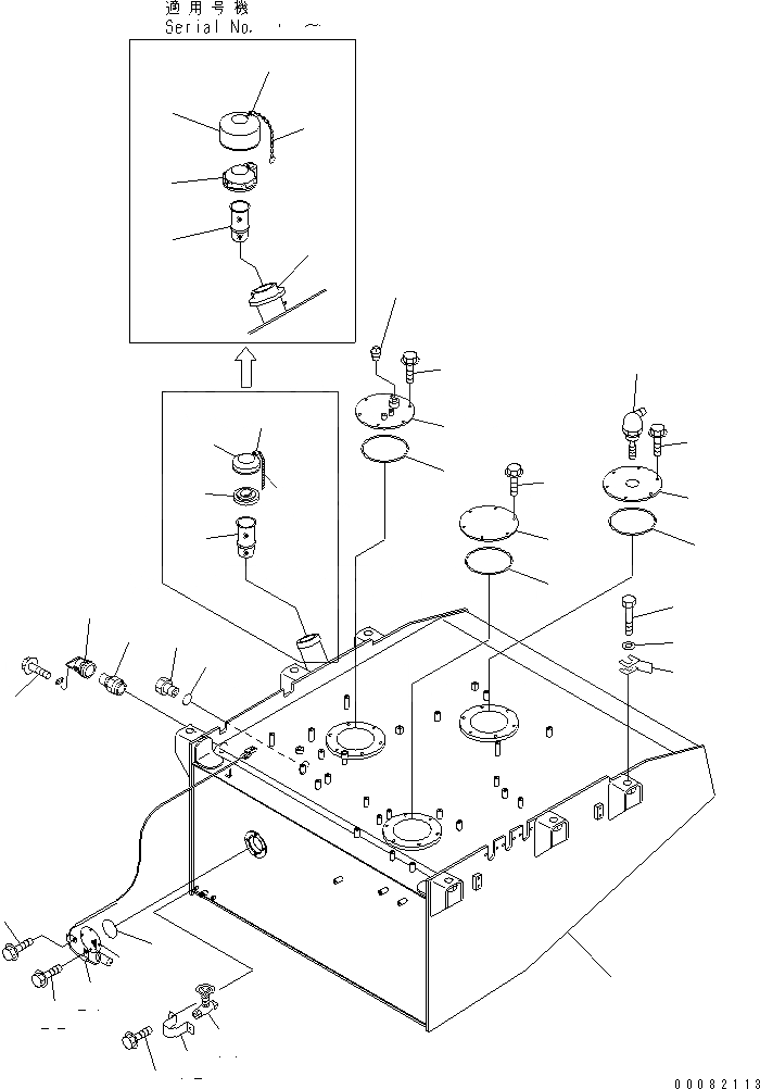
1
1
2
3
4
5
5
6
6
7
8
9
9
9
10
10
10
11
12
13
14
15
16
16
17
17
18
18
19
20
21
22
22
23
24
25
26
27
28
FIT
1:1
100%

Артикул

Название

Примечание

Количество

1

427-04-21211

TANK,FUEL

SN: .-UP

1шт.

1

427-04-21210

TANK,FUEL

SN: 50001-.

1шт.

2

01011-63000

BOLT

SN: 50001-UP

6шт.

3

01643-33080

WASHER

SN: 50001-UP

6шт.

4

416-855-1190

SHIM, 0.5MM

SN: 50001-UP

10шт.

5

19M-04-11220

CAP

SN: .-UP

1шт.

5

423-04-11362

CAP

SN: 50001-.

1шт.

5

417-04-21230

PACKING

SN: 50001-UP

1шт.

6

07056-18416

STRAINER

SN: 50001-UP

1шт.

7

428-04-11120

COVER

SN: 50001-UP

1шт.

8

427-04-21221

COVER

SN: 50001-UP

1шт.

9

07000-15200

O-RING

SN: 50001-UP

3шт.

10

01435-01025

BOLT

SN: 50001-UP

18шт.

11

416-04-10131

VALVE,DRAIN

SN: 50001-UP

1шт.

12

419-04-11120

COVER

SN: 50001-UP

1шт.

13

01435-00816

BOLT

SN: 50001-UP

2шт.

14

421-60-11622

GAUGE,SIGHT

SN: 50001-UP

1шт.

15

07002-15234

O-RING

SN: 50001-UP

1шт.

16

427-04-21260

COVER

SN: .-UP

1шт.

16

418-04-11341

COVER

SN: 50001-.

1шт.

17

421-35-14370

RING

SN: 50001-UP

1шт.

18

427-04-21270

CHAIN

SN: .-UP

1шт.

18

418-04-11330

CHAIN

SN: 50001-.

1шт.

19

7861-92-4850

SENSOR,FUEL

SN: 50001-UP

1шт.

20

07000-12085

O-RING

SN: 50001-UP

1шт.

21

04434-50510

CLIP

SN: 50001-UP

2шт.

22

01435-01016

BOLT

SN: 50001-UP

4шт.

23

566-98-15200

NIPPLE ASS'Y

SN: 50001-UP

1шт.

24

566-98-15300

CAP ASS'Y

SN: 50001-UP

1шт.

25

566-98-15100

VENT ASS'Y

SN: 50001-UP

1шт.

26

01435-00814

BOLT

SN: 50001-UP

1шт.

27

427-U49-2110

COVER

SN: 50001-UP

1шт.

28

07042-70415

PLUG

SN: 50001-UP

1шт.

Выбрано товаров: 33