Запчасти Komatsu WA900-3E0 РАДИАТОР (ДЕФЛЕКТОР)(№-) СИСТЕМА ОХЛАЖДЕНИЯ

Схема запчастей Komatsu WA900-3E0 - РАДИАТОР (ДЕФЛЕКТОР)(№-) СИСТЕМА ОХЛАЖДЕНИЯ
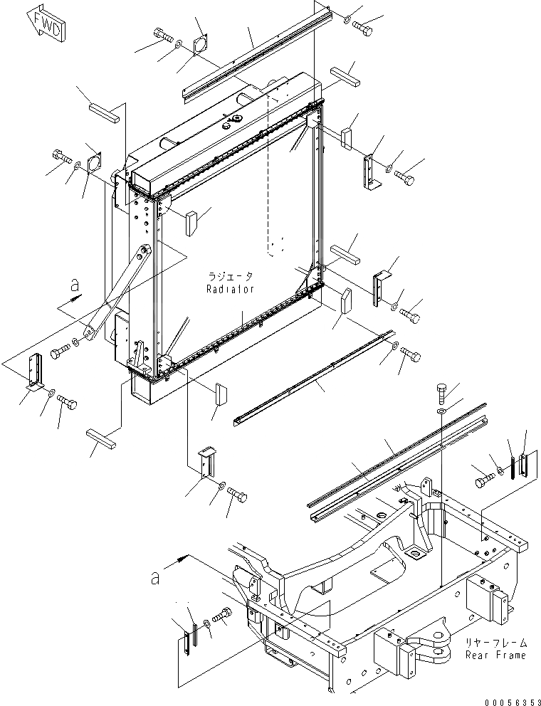
1
2
3
4
5
6
7
7
8
8
9
9
9
9
10
10
10
10
11
12
13
13
14
14
15
15
15
16
16
16
17
17
18
18
19
19
19
19
20
20
20
20
21
21
22
22
FIT
1:1
100%

Артикул

Название

Примечание

Количество

1

427-03-32141

BAFFLE

SN: 60001-UP

1шт.

2

01010-D1225

BOLT

SN: 60001-UP

4шт.

3

01643-71232

WASHER

SN: 60001-UP

4шт.

4

427-03-22851

BAFFLE

SN: 60001-UP

1шт.

5

01010-D1225

BOLT

SN: 60001-UP

4шт.

6

01643-71232

WASHER

SN: 60001-UP

4шт.

7

427-03-22862

BAFFLE

SN: 60001-UP

2шт.

8

427-03-22872

BAFFLE

SN: 60001-UP

2шт.

9

01010-D1230

BOLT

SN: 60001-UP

12шт.

10

01643-71232

WASHER

SN: 60001-UP

12шт.

11

427-03-32230

PLATE

SN: 60001-UP

1шт.

12

427-03-32210

SEAL

SN: 60001-UP

1шт.

13

427-03-32220

PLATE

SN: 60001-UP

2шт.

14

427-03-32190

SEAL

SN: 60001-UP

2шт.

15

01010-D1220

BOLT

SN: 60001-UP

9шт.

16

01643-71232

WASHER

SN: 60001-UP

9шт.

17

427-03-32170

SEAL

SN: 60001-UP

2шт.

18

427-03-32180

SEAL

SN: 60001-UP

2шт.

19

427-03-32240

SEAL

SN: 60001-UP

4шт.

20

427-03-22880

PLATE

SN: 60001-UP

8шт.

21

01010-80820

BOLT

SN: 60001-UP

16шт.

22

01643-30823

WASHER

SN: 60001-UP

16шт.

Выбрано товаров: 22