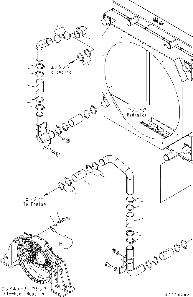
Запчасти Komatsu WA900-3E0 ДВИГАТЕЛЬ (ТРУБКИ ПОСЛЕОХЛАДИТЕЛЯ)(№8-) КОМПОНЕНТЫ ДВИГАТЕЛЯ

Схема запчастей Komatsu WA900-3E0 - ДВИГАТЕЛЬ (ТРУБКИ ПОСЛЕОХЛАДИТЕЛЯ)(№8-) КОМПОНЕНТЫ ДВИГАТЕЛЯ
1
1
2
2
2
2
3
4
4
4
4
5
6
7
8
FIT
1:1
100%

Артикул

Название

Примечание

Количество

1

566-02-6E141

HOSE

SN: 60048-UP

2шт.

2

07299-00105

CLAMP

SN: 60048-UP

8шт.

3

566-02-6E141

HOSE

SN: 60048-UP

1шт.

4

07299-00105

CLAMP

SN: 60048-UP

8шт.

5

566-02-6E151

ELBOW

SN: 60048-UP

1шт.

6

427-06-22280

CABLE

SN: 60048-UP

1шт.

7

01010-81630

BOLT

SN: 60048-UP

1шт.

8

01643-31645

WASHER

SN: 60048-UP

1шт.

Выбрано товаров: 0