Запчасти Komatsu WA900-3E0 РАДИАТОР (ЛИНИИ МАСЛООХЛАДИТЕЛЯ /) (ДЛЯ ТОРМОЗ. СИСТЕМА ОХЛАЖДЕНИЯ)(№77-) СИСТЕМА ОХЛАЖДЕНИЯ

Схема запчастей Komatsu WA900-3E0 - РАДИАТОР (ЛИНИИ МАСЛООХЛАДИТЕЛЯ /) (ДЛЯ ТОРМОЗ. СИСТЕМА ОХЛАЖДЕНИЯ)(№77-) СИСТЕМА ОХЛАЖДЕНИЯ
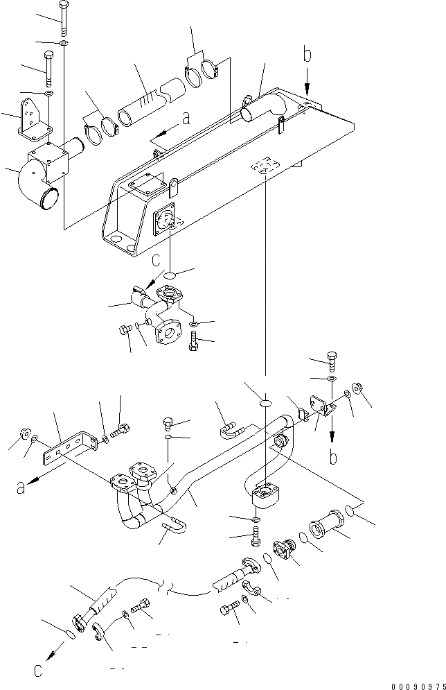
1
2
3
4
5
6
7
8
9
10
11
12
13
14
15
16
16
17
18
19
19
20
20
21
21
22
22
23
24
25
26
27
28
29
30
31
32
33
33
34
35
36
37
37
38
39
39
40
40
FIT
1:1
100%

Артикул

Название

Примечание

Количество

1

427-03-24412

OIL COOLER ASS'Y

SN: 60075-UP

1шт.

2

427-16-21730

TUBE

SN: 60075-UP

1шт.

3

07040-11007

PLUG

SN: 60002-UP

1шт.

4

07002-21023

O-RING

SN: 60002-UP

1шт.

5

07000-F3048

O-RING

SN: 60002-UP

1шт.

6

01010-81270

BOLT

SN: 60071-UP

4шт.

7

01643-31232

WASHER

SN: 60071-UP

4шт.

8

427-03-24680

PLATE

SN: 60075-UP

1шт.

9

01010-81030

BOLT

SN: 60075-UP

2шт.

10

01643-31032

WASHER

SN: 60075-UP

2шт.

11

07283-34354

CLIP

SN: 60075-UP

1шт.

12

07283-54353

SEAT

SN: 60075-UP

1шт.

13

01597-01009

NUT

SN: 60075-UP

2шт.

14

01643-31032

WASHER

SN: 60075-UP

2шт.

15

427-16-21490

VALVE ASS'Y

SN: 60075-UP

1шт.

16

07002-24234

O-RING

SN: 60075-UP

2шт.

17

42C-62-15630

JOINT

SN: 60075-UP

1шт.

18

07296-010A6

HOSE

SN: 60075-UP

1шт.

19

07000-F3032

O-RING

SN: 60075-UP

2шт.

20

07371-31049

FLANGE

SN: 60075-UP

4шт.

21

07372-21035

BOLT

SN: 60075-UP

8шт.

22

01643-51032

WASHER

SN: 60075-UP

8шт.

23

427-16-21720

TUBE

SN: 60075-UP

1шт.

24

07040-11007

PLUG

SN: 60002-UP

1шт.

25

07002-21023

O-RING

SN: 60002-UP

1шт.

26

07000-F3048

O-RING

SN: 60002-UP

1шт.

27

07372-21235

BOLT

SN: 60002-UP

4шт.

28

01643-51232

WASHER

SN: 60002-UP

4шт.

29

427-16-21470

PLATE

SN: 60071-UP

1шт.

30

427-S05-4233

BRACKET

SN: 60077-UP

1шт.

31

01011-81020

BOLT

SN: 60077-UP

2шт.

32

01643-31032

WASHER

SN: 60077-UP

2шт.

33

07283-34354

CLIP

SN: 60071-UP

2шт.

34

01597-01009

NUT

SN: 60002-UP

4шт.

35

01643-31032

WASHER

SN: 60002-UP

4шт.

36

07260-25850

HOSE

SN: 60071-UP

1шт.

37

07299-00070

CLAMP

SN: 60071-UP

4шт.

38

427-03-24221

TUBE

SN: 60071-UP

1шт.

39

01011-81010

BOLT

SN: 60071-UP

4шт.

40

01643-31032

WASHER

SN: 60071-UP

4шт.

Выбрано товаров: 0