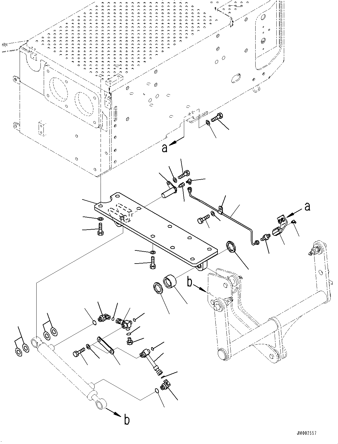
Запчасти Komatsu WA900-3E0 ЗАДН. КРЫЛО И ЛЕСТНИЦА, POWER ЛЕСТНИЦА, ЦИЛИНДР КОМПОНЕНТЫ (№9-) ЗАДН. КРЫЛО И ЛЕСТНИЦА

Схема запчастей Komatsu WA900-3E0 - ЗАДН. КРЫЛО И ЛЕСТНИЦА, POWER ЛЕСТНИЦА, ЦИЛИНДР КОМПОНЕНТЫ (№9-) ЗАДН. КРЫЛО И ЛЕСТНИЦА
4
3
1
2
2
1
3
5
6
7
8
9
11
12
14
15
20
18
19
21
22
24
23
26
25
28
27
29
30
31
10
10
32
13
15
17
16
17
32
FIT
1:1
100%

Артикул

Название

Примечание

Количество

1

02782-10315

Elbow

SN: 60095-UP

2шт.

2

07002-22034

O-ring

SN: 60095-UP

2шт.

3

02896-21009

O-ring

SN: 60095-UP

2шт.

4

427-62-24310

Tube

SN: 60095-UP

1шт.

5

427-62-24320

Tube

SN: 60095-UP

1шт.

6

427-62-24340

Plate

SN: 60095-UP

1шт.

7

01010-81020

Bolt

SN: 60095-UP

2шт.

8

01643-31032

Washer

SN: 60095-UP

2шт.

9

07040-11007

Plug

SN: 60095-UP

1шт.

10

02896-21009

O-ring

SN: 60095-UP

2шт.

11

07002-21023

O-ring

SN: 60095-UP

1шт.

12

427-54-27961

Bracket

SN: 60095-UP

1шт.

13

01010-81655

Bolt

SN: 60095-UP

8шт.

14

01010-81660

Bolt

SN: 60095-UP

2шт.

15

01643-31645

Washer

SN: 60095-UP

10шт.

16

21S-70-11450

Bushing

SN: 60095-UP

1шт.

17

07145-00025

Seal, Dust

SN: 60095-UP

2шт.

18

21S-70-11170

Pin

SN: 60095-UP

1шт.

19

01010-81020

Bolt

SN: 60095-UP

1шт.

20

01643-31032

Washer

SN: 60095-UP

1шт.

21

22X-47-18220

Nipple

SN: 60095-UP

1шт.

22

07217-70712

Elbow

SN: 60095-UP

1шт.

23

427-54-31911

Tube

SN: 60095-UP

1шт.

24

425-70-13120

Clip

SN: 60095-UP

1шт.

25

01010-81016

Bolt

SN: 60095-UP

1шт.

26

01643-31032

Washer

SN: 60095-UP

1шт.

27

07214-70710

Connector

SN: 60095-UP

1шт.

28

427-54-31921

Bracket

SN: 60095-UP

1шт.

29

01010-81030

Bolt

SN: 60095-UP

2шт.

30

01643-31032

Washer

SN: 60095-UP

2шт.

31

07020-00900

Fitting, Grease

SN: 60095-UP

1шт.

32

21R-70-11380

Spacer

SN: 60095-UP

4шт.

Выбрано товаров: 32