Запчасти Komatsu WA900-3E0 ГИДРОЛИНИЯ, КРЕПЛЕНИЕ (/7) (№78-) ГИДРОЛИНИЯ, AJSS, ЭКСТРЕНН. РУЛЕВ. УПРАВЛЕНИЕ, АВТОМАТИЧ. УПРАВЛ-Е ТИП, УДАЛЕНН. СТРЕЛА ПОЗИЦИОНЕР, ACTIVE РАБОЧ.ING СИСТЕМА, ПРОХОДНОЙ ФИЛЬТР

Схема запчастей Komatsu WA900-3E0 - ГИДРОЛИНИЯ, КРЕПЛЕНИЕ (/7) (№78-) ГИДРОЛИНИЯ, AJSS, ЭКСТРЕНН. РУЛЕВ. УПРАВЛЕНИЕ, АВТОМАТИЧ. УПРАВЛ-Е ТИП, УДАЛЕНН. СТРЕЛА ПОЗИЦИОНЕР, ACTIVE РАБОЧ.ING СИСТЕМА, ПРОХОДНОЙ ФИЛЬТР
6
7
10
9
9
8
3
2
1
10
11
4
5
FIT
1:1
100%

Артикул

Название

Примечание

Количество

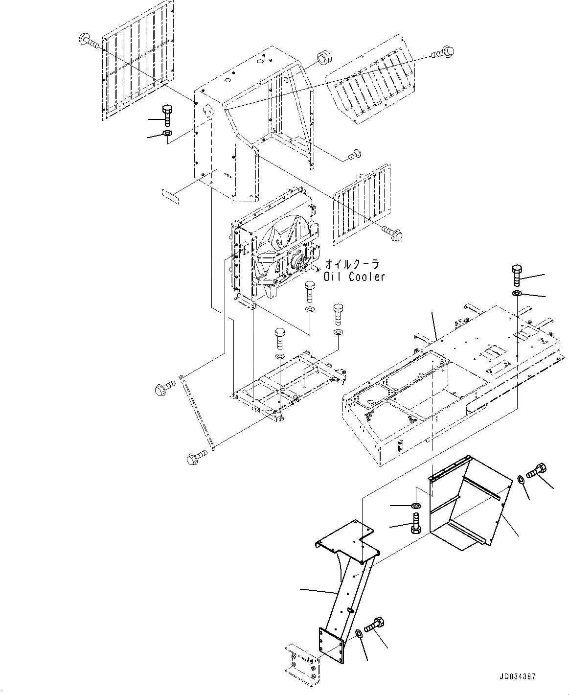
1

427-S05-4712

Bracket

SN: 60078-UP

1шт.

2

01010-81645

Bolt

SN: 60078-UP

6шт.

3

01643-31645

Washer

SN: 60078-UP

6шт.

4

01010-81430

Bolt

SN: 60078-UP

2шт.

5

01643-31445

Washer, Flat

SN: 60078-UP

2шт.

6

01010-81225

Bolt

SN: 60078-UP

6шт.

7

01643-31232

Washer

SN: 60078-UP

6шт.

8

427-S05-5190

Cover

SN: 60078-UP

1шт.

9

01010-81020

Bolt

SN: 60078-UP

8шт.

10

01643-31032

Washer

SN: 60078-UP

8шт.

11

427-54-29320

Frame

SN: UP

-1шт.

|$11

427-54-29320

Frame

SN: UP

-1шт.

Выбрано товаров: 12