Запчасти Komatsu WA900-3E0 ПОЛ, КРЕПЛЕНИЕ (/) (№78-) ПОЛ, ТОРМОЗ. МАСЛ. СИСТЕМА ОХЛАЖДЕНИЯ, VHMS, ORBCOMM, НАКЛОН. ОГРАНИЧИТЕЛЬ, УДАЛЕНН. СТРЕЛА ПОЗИЦИОНЕР, ДВИГАТЕЛЬ PRE-СМАЗКА СИСТЕМА, MINING СПЕЦ-Я

Схема запчастей Komatsu WA900-3E0 - ПОЛ, КРЕПЛЕНИЕ (/) (№78-) ПОЛ, ТОРМОЗ. МАСЛ. СИСТЕМА ОХЛАЖДЕНИЯ, VHMS, ORBCOMM, НАКЛОН. ОГРАНИЧИТЕЛЬ, УДАЛЕНН. СТРЕЛА ПОЗИЦИОНЕР, ДВИГАТЕЛЬ PRE-СМАЗКА СИСТЕМА, MINING СПЕЦ-Я
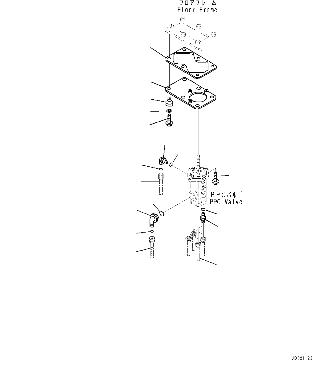
6
5
3
4
2
1
10
7
11
8
14
13
12
9
15
16
17
FIT
1:1
100%

Артикул

Название

Примечание

Количество

1

01435-00820

Bolt

SN: 60078-UP

3шт.

2

01435-01035

Bolt

SN: 60078-UP

6шт.

3

421-62-18550

Cushion

SN: 60078-UP

6шт.

4

175-54-34170

Washer

SN: 60078-UP

6шт.

5

419-S35-2260

Sheet

SN: 60078-UP

1шт.

6

426-62-28110

Plate

SN: 60078-UP

1шт.

7

427-62-25731

Elbow

SN: 60078-UP

1шт.

8

07002-23034

O-ring

SN: 60078-UP

1шт.

9

02896-21012

O-ring

SN: 60078-UP

1шт.

10

02782-1042B

Elbow

SN: 60078-UP

1шт.

11

07002-22034

O-ring

SN: 60078-UP

1шт.

12

02896-21012

O-ring

SN: 60078-UP

1шт.

13

427-64-27111

Nipple

SN: 60078-UP

4шт.

|$13

201-60-11390

O-ring

SN: 60078-UP

1шт.

|$14

20Y-62-19560

O-ring

SN: 60078-UP

1шт.

14

07002-22034

O-ring

SN: 60078-UP

4шт.

15

02762-00422

Hose, Face Seal Type

SN: UP

-1шт.

|$17

02762-00422

Hose, Face Seal Type

SN: UP

-1шт.

|$18

02762-00422

Hose, Face Seal Type

SN: UP

-1шт.

16

427-62-21931

Hose

SN: UP

-1шт.

|$20

427-62-21931

Hose

SN: UP

-1шт.

|$21

427-62-21931

Hose

SN: UP

-1шт.

17

02754-00420

Hose, Face Seal Type

SN: UP

-1шт.

|$23

02754-00420

Hose, Face Seal Type

SN: UP

-1шт.

|$24

02754-00420

Hose, Face Seal Type

SN: UP

-1шт.

Выбрано товаров: 25