Запчасти Komatsu WA900-3LC K-A ПОЛ ПРАВ. КОНСОЛЬН. БЛОК OPERATORS ОБСТАНОВКА И СИСТЕМА УПРАВЛЕНИЯ

Схема запчастей Komatsu WA900-3LC - K-A ПОЛ ПРАВ. КОНСОЛЬН. БЛОК OPERATORS ОБСТАНОВКА И СИСТЕМА УПРАВЛЕНИЯ
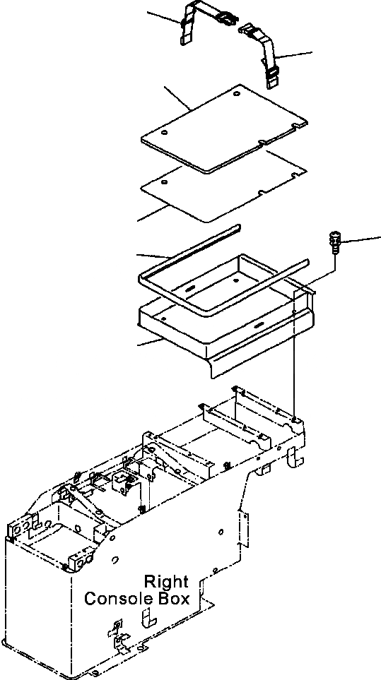
6
5
2
7
3
4
1
FIT
1:1
100%

Артикул

Название

Примечание

Количество

1

426-54-22751

CASE

SN: A50001--UP

1шт.

2

426-54-22760

SHEET

SN: A50001--UP

1шт.

3

421-09-21430

SCREW

SN: A50001--UP

4шт.

4

426-54-22770

FINISHER

SN: A50001--UP

1шт.

5

426-54-22780

BAND

SN: A50001--UP

1шт.

6

426-54-22790

BAND

SN: A50001--UP

1шт.

7

427-54-22120

PLATE

SN: A50001--UP

1шт.

Выбрано товаров: 7