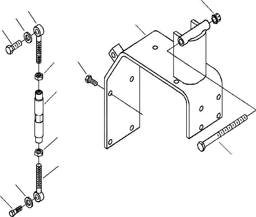
Запчасти Komatsu WA900-3LC A-A7A КРЕПЛЕНИЕ ГЕНЕРАТОРА С AMP ГЕНЕРАТОР ДВИГАТЕЛЬ

Схема запчастей Komatsu WA900-3LC - A-A7A КРЕПЛЕНИЕ ГЕНЕРАТОРА С AMP ГЕНЕРАТОР ДВИГАТЕЛЬ
3
10
5
7
2
8
6
12
9
4
11
5
1
FIT
1:1
100%

Артикул

Название

Примечание

Количество

1

6216-84-6210

BOLT (1/2-13x1 3/4 INCH)

1шт.

2

6216-84-6220

BOLT (1/2-13x1 1/2 INCH)

1шт.

3

6216-84-6230

NUT, LOCK (1/2-20 UNF)

1шт.

4

6216-84-6250

BOLT (1/2-20x6 1/2 INCH)

1шт.

5

6216-84-6270

WASHER, PLAIN (M12)

6шт.

6

01010-31025

BOLT (M10-1.50x25)

4шт.

7

6216-84-6670

BRACKET, ALTERNATOR

1шт.

|$7

NSS

LINK ASSEMBLY, ADJUSTING

1шт.

8

6216-84-6330

NUT

1шт.

9

6216-84-6340

NUT, JAM

1шт.

10

6216-84-6150

BOLT, EYE

1шт.

11

6216-84-6160

BOLT, EYE

1шт.

12

6216-84-5530

LINK, AJUSTING

1шт.

Выбрано товаров: 13