Качественные детали и логистика
Оригинальные и аналоговые запчасти с доставкой по России, Казахстану и Беларуси
©2022 PartSell ООО "Система" ИНН 2463123282 ОГРН 1212400004838
Центральный офис: г. Красноярск, Академика Киренского, д.87, пом.4
Телефон: 8 (800) 777-65-74 Email: zakaz@partsell.ru
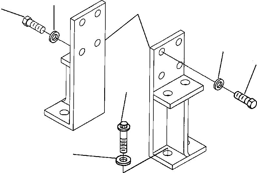
A8999-A7A SHIPПАЛЕЦG КОРПУС
№
Артикул
Название
Примечание
Количество
1
01010-32060
BOLT (M20-2.50x60)
8шт.
2
01643-32060
WASHER, PLAIN (M20)
12шт.
3
6216-24-3820
SUPPORT, FLYWHEEL HOUSING
2шт.
4
6216-24-3830
4шт.
Выбрано товаров: 0