Запчасти Komatsu WR11-1 РУКОЯТЬ KICK OUT И КОВШ ПОЗИЦИОНЕР(№9-97) УПРАВЛ-Е РАБОЧИМ ОБОРУДОВАНИЕМ

Схема запчастей Komatsu WR11-1 - РУКОЯТЬ KICK OUT И КОВШ ПОЗИЦИОНЕР(№9-97) УПРАВЛ-Е РАБОЧИМ ОБОРУДОВАНИЕМ
FIT
1:1
100%

Артикул

Название

Примечание

Количество

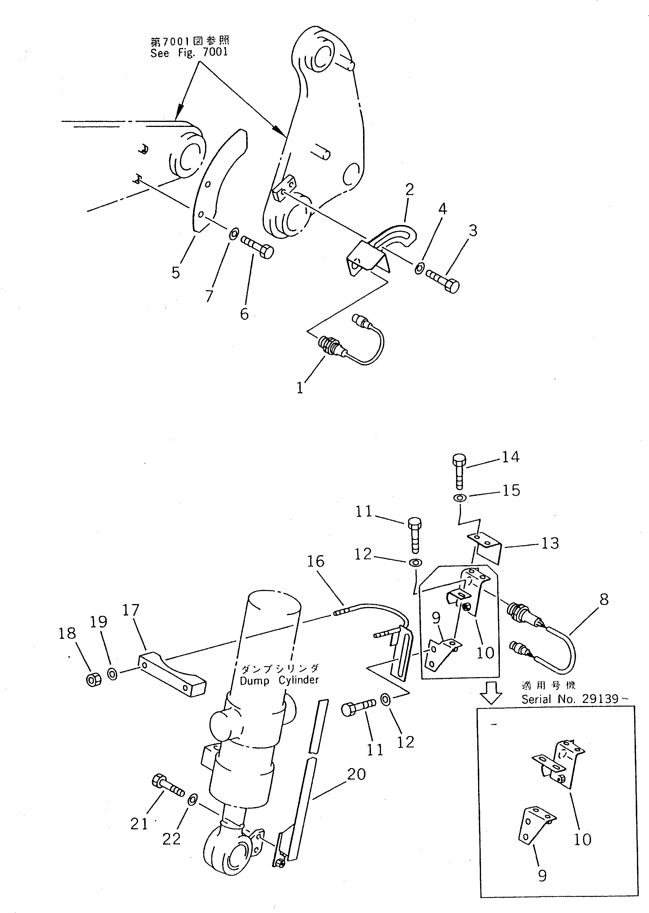
1

421-06-11165

SWITCH,LIFT ARM KICK-OUT

SN: 29034-@

1шт.

|1

0

SWITCH,LIFT ARM KICK-OUT

SN: 29005-29033

1шт.

2

41H-43-19141

PLATE

SN: 29005-@

1шт.

3

01010-31225

BOLT

SN: 29005-@

2шт.

4

01643-31232

WASHER

SN: 29005-@

2шт.

5

41H-43-19151

SUPPORT

SN: 29005-@

1шт.

|5

41H-850-1210

PLATE,(FOR HI-LIFT BOOM)

SN: 29005-@

1шт.

6

01010-50820

BOLT

SN: 29005-@

2шт.

7

01643-30823

WASHER

SN: 29005-@

2шт.

8

421-06-11165

SWITCH,BUCKET POSITIONER

SN: 29034-@

1шт.

|8

0

SWITCH,BUCKET POSITIONER

SN: 29005-29033

1шт.

9

41H-43-19121

BRACKET

SN: 29139-29173

1шт.

|10

0

BRACKET

SN: 29005-29138

1шт.

|$$14

(41H-43-19121{41H-43-19112)}

-1шт.

10

41H-43-19112

BRACKET

SN: 29139-29173

1шт.

|10

0

BRACKET

SN: 29005-29138

1шт.

|$$17

(41H-43-19112{41H-43-19121)}

-1шт.

11

01010-51225

BOLT

SN: 29005-29173

4шт.

12

01643-31232

WASHER

SN: 29005-29173

4шт.

13

41H-43-19161

PLATE

SN: 29005-29173

1шт.

14

01010-50616

BOLT

SN: 29005-29173

2шт.

15

01643-30623

WASHER

SN: 29005-29173

2шт.

16

41H-43-19170

BRACKET

SN: 29005-29173

1шт.

17

41H-43-19180

PLATE

SN: 29005-29173

1шт.

18

01580-11008

NUT

SN: 29005-29173

2шт.

19

01643-31032

WASHER

SN: 29005-29173

2шт.

20

41H-43-19131

BAR

SN: 29005-29173

1шт.

21

01010-51230

BOLT

SN: 29005-29173

2шт.

22

01643-31232

WASHER

SN: 29005-29173

2шт.

Выбрано товаров: 0