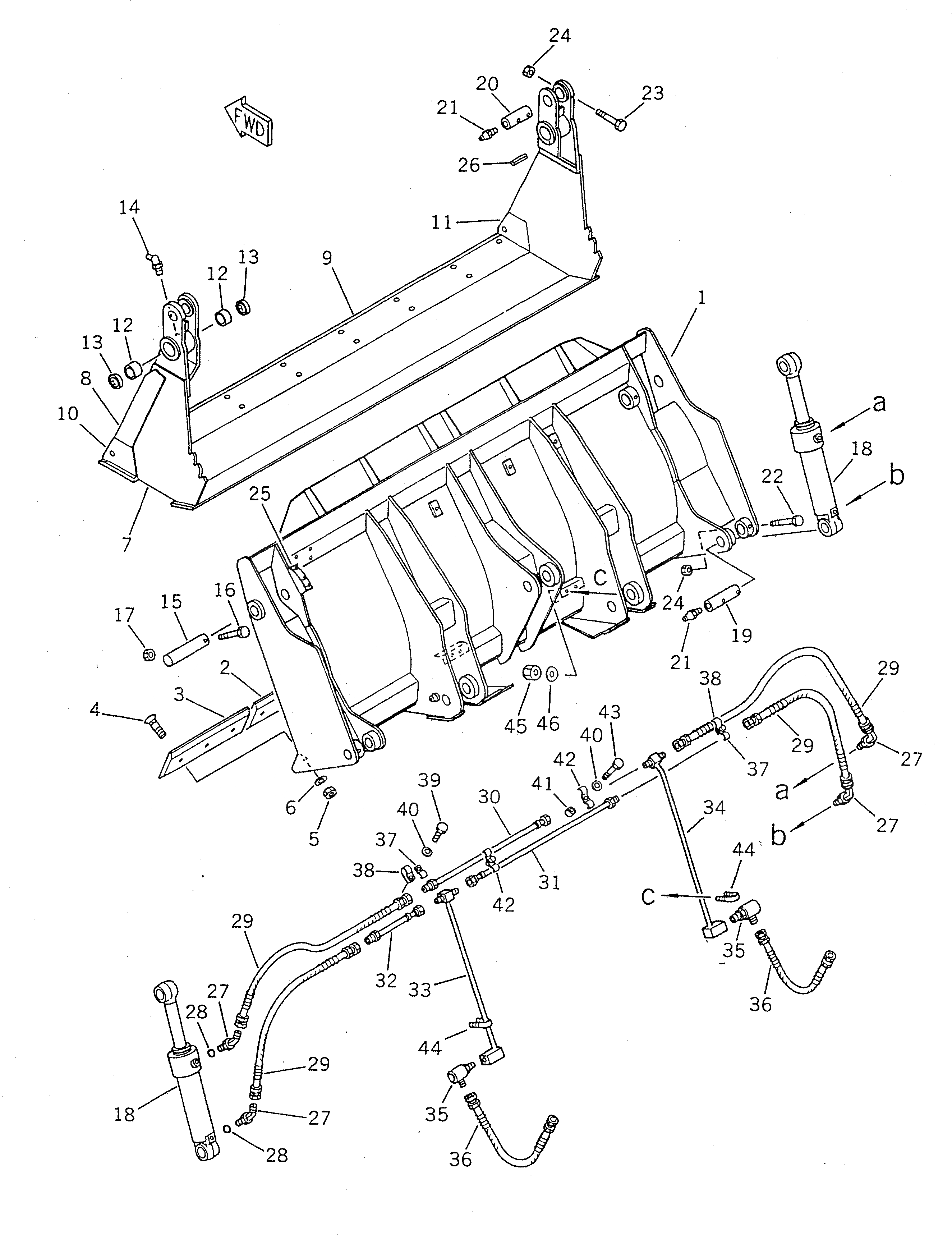
Запчасти Komatsu WR11-1 MULTI-PURPOSE КОВШ РАБОЧЕЕ ОБОРУДОВАНИЕ

Схема запчастей Komatsu WR11-1 - MULTI-PURPOSE КОВШ РАБОЧЕЕ ОБОРУДОВАНИЕ
FIT
1:1
100%

Артикул

Название

Примечание

Количество

1

41H-823-1111

BLADE

SN: 29005-UP

1шт.

2

417-823-1310

EDGE,CENTER

SN: 29005-UP

1шт.

3

418-823-1320

EDGE,SIDE

SN: 29005-UP

2шт.

4

02090-11045

BOLT

SN: 29005-UP

16шт.

5

02290-11016

NUT

SN: 29005-UP

16шт.

6

01643-31645

WASHER

SN: 29005-UP

16шт.

7

417-823-1111

CLAM

SN: 29005-UP

1шт.

8

417-823-1120

PLATE,SIDE (WELDED)

SN: 29005-UP

2шт.

9

417-70-12121

EDGE (WELDED)

SN: 29005-UP

1шт.

10

417-70-12140

PLATE,L.H. (WELDED)

SN: 29005-UP

1шт.

11

417-70-12150

PLATE,R.H. (WELDED)

SN: 29005-UP

1шт.

12

07143-10505

BUSHING

SN: 29005-UP

4шт.

13

07145-10050

SEAL,DUST

SN: 29005-UP

4шт.

14

07020-00675

FITTING,GREASE

SN: 29005-UP

2шт.

15

417-823-1330

PIN

SN: 29005-UP

2шт.

16

01011-31205

BOLT

SN: 29005-UP

2шт.

17

01598-01214

NUT

SN: 29005-UP

2шт.

18

707-00-90010

CYLINDER ASS'Y,(SEE FIG.6351)

SN: 29005-UP

2шт.

19

417-823-1341

PIN

SN: 29005-UP

2шт.

20

417-823-1350

PIN

SN: 29005-UP

2шт.

21

07020-00000

FITTING,GREASE

SN: 29005-UP

4шт.

22

01010-31095

BOLT

SN: 29005-UP

2шт.

23

01011-31015

BOLT

SN: 29005-UP

2шт.

24

01598-01011

NUT

SN: 29005-UP

4шт.

25

417-823-1510

PLATE¤ NAME

SN: 29005-UP

1шт.

26

04025-00640

PIN,SPRING

SN: 29005-UP

2шт.

27

07235-10315

ELBOW

SN: 29005-UP

4шт.

28

07002-12034

O-RING

SN: 29005-UP

4шт.

29

07123-20310

HOSE

SN: 29005-UP

4шт.

30

41H-823-1240

TUBE

SN: 29005-UP

1шт.

31

41H-823-1230

TUBE

SN: 29005-UP

1шт.

32

41H-823-1440

TUBE

SN: 29005-UP

1шт.

33

41H-823-1210

TUBE

SN: 29005-UP

1шт.

34

41H-823-1220

TUBE

SN: 29005-UP

1шт.

35

41H-914-1250

JOINT,SWIVEL

SN: 29005-UP

2шт.

36

41H-914-1210

HOSE

SN: 29005-UP

2шт.

37

19M-27-12710

CLAMP

SN: 29005-UP

2шт.

38

08035-02514

CLIP

SN: 29005-UP

2шт.

39

01010-31020

BOLT

SN: 29005-UP

2шт.

40

01643-31032

WASHER

SN: 29005-UP

4шт.

41

417-823-1460

SPACER

SN: 29005-UP

2шт.

42

130-62-71390

CLAMP

SN: 29005-UP

2шт.

43

01010-31030

BOLT

SN: 29005-UP

2шт.

44

07283-22236

CLIP

SN: 29005-UP

2шт.

45

01599-01011

NUT

SN: 29005-UP

4шт.

46

01643-31032

WASHER

SN: 29005-UP

4шт.

Выбрано товаров: 46