Запчасти Komatsu WR11-1 LUMBER ЗАХВАТ (ГИДРАВЛ ТИП) (/) РАБОЧЕЕ ОБОРУДОВАНИЕ

Схема запчастей Komatsu WR11-1 - LUMBER ЗАХВАТ (ГИДРАВЛ ТИП) (/) РАБОЧЕЕ ОБОРУДОВАНИЕ
FIT
1:1
100%

Артикул

Название

Примечание

Количество

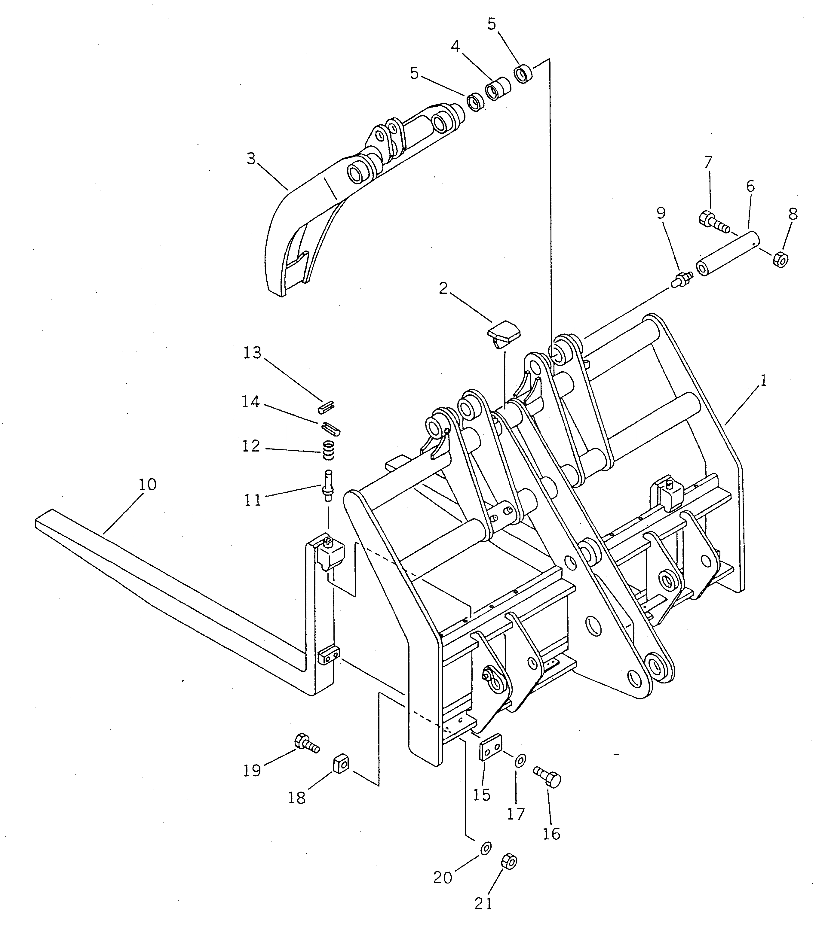
|1

41H-881-1000

LUMBER GRAPPLE ASS'Y

SN: 29005-UP

1шт.

1

41H-881-1111

CARRIER

SN: 29005-UP

1шт.

2

41H-881-1420

PLATE (WELDED)

SN: 29005-UP

1шт.

|3

41H-881-1010

ARM ASS'Y

SN: 29005-UP

1шт.

3

41H-881-1411

ARM

SN: 29005-UP

1шт.

4

416-70-11810

BUSHING

SN: 29005-UP

2шт.

5

424-09-12310

SEAL,DUST

SN: 29005-UP

4шт.

6

41H-881-1210

PIN

SN: 29005-UP

2шт.

7

01011-31000

BOLT

SN: 29005-UP

2шт.

8

01598-01011

NUT

SN: 29005-UP

2шт.

9

07020-00000

FITTING,GREASE

SN: 29005-UP

2шт.

10

41H-881-1131

FORK (WELDED)

SN: 29005-UP

2шт.

11

417-884-1160

PIN

SN: 29005-UP

2шт.

12

417-884-1150

SPRING

SN: 29005-UP

2шт.

13

04025-00865

PIN,SPRING

SN: 29005-UP

2шт.

14

04025-00440

PIN,SPRING

SN: 29005-UP

2шт.

15

41H-894-1240

PLATE

SN: 29005-UP

2шт.

16

01010-32050

BOLT

SN: 29005-UP

4шт.

17

01643-32060

WASHER

SN: 29005-UP

4шт.

18

417-884-1140

PLATE

SN: 29005-UP

4шт.

19

01010-31275

BOLT

SN: 29005-UP

4шт.

20

01643-31232

WASHER

SN: 29005-UP

4шт.

21

01580-01210

NUT

SN: 29005-UP

4шт.

Выбрано товаров: 23