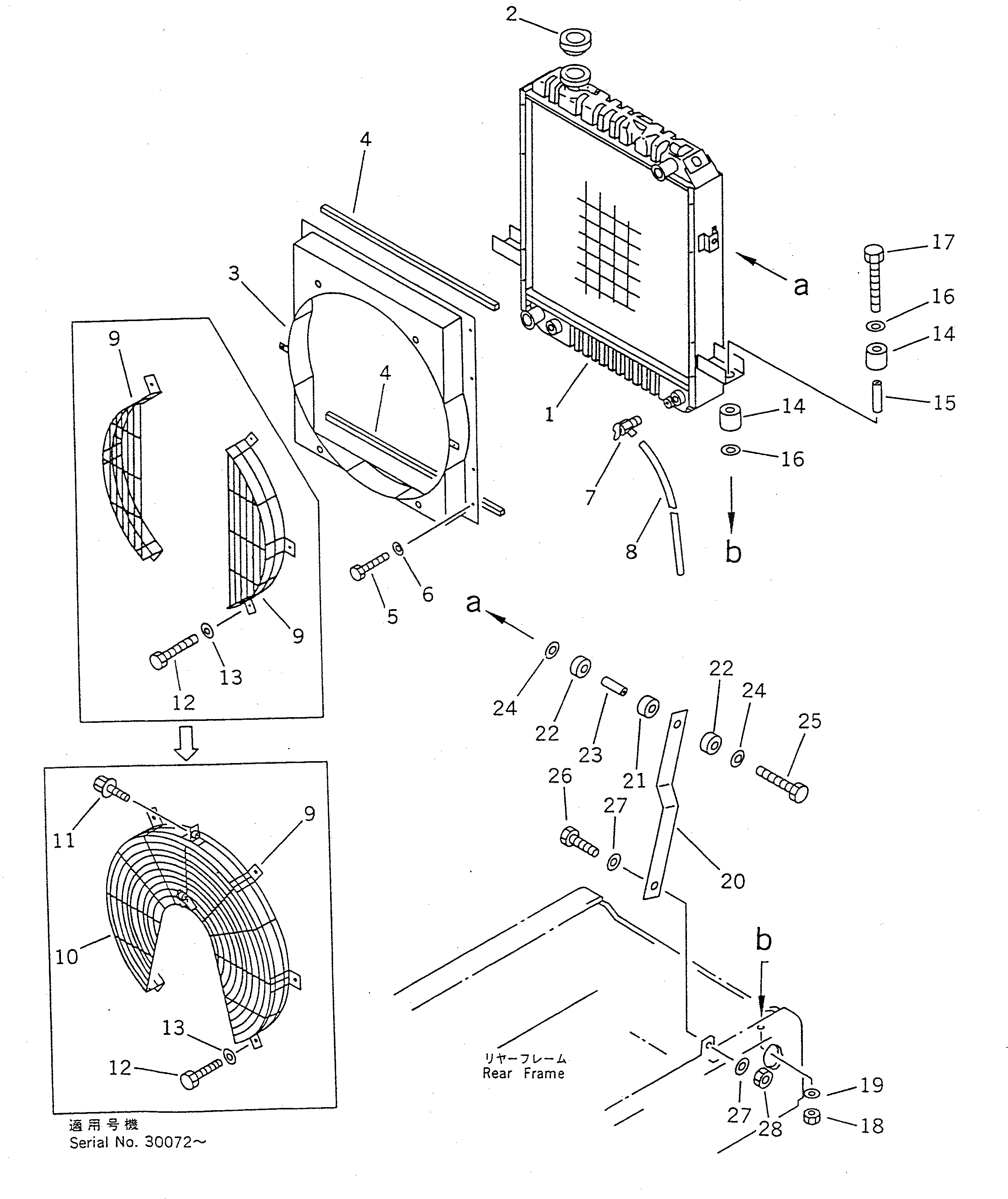
Запчасти Komatsu WR11-1 РАДИАТОР КОМПОНЕНТЫ ДВИГАТЕЛЯ И ЭЛЕКТРИКА

Схема запчастей Komatsu WR11-1 - РАДИАТОР КОМПОНЕНТЫ ДВИГАТЕЛЯ И ЭЛЕКТРИКА
FIT
1:1
100%

Артикул

Название

Примечание

Количество

|1

416-03-11102

RADIATOR ASS'Y

SN: 29005-UP

1шт.

1

416-03-11111

CORE ASS'Y,WITH OIL COOLER

SN: 29005-UP

1шт.

2

416-03-11170

CAP

SN: 29005-UP

1шт.

3

416-03-11121

SHROUD

SN: 29005-UP

1шт.

4

416-03-11131

PACKING

SN: 29005-UP

2шт.

5

01010-50816

BOLT

SN: 29005-UP

8шт.

6

01643-30823

WASHER

SN: 29005-UP

8шт.

7

415-03-11150

COCK,DRAIN

SN: 29005-UP

1шт.

|7

415-03-11160

O-RING

SN: 29005-UP

1шт.

8

416-03-11151

HOSE

SN: 29005-UP

1шт.

9

417-03-11120

GUARD,FAN¤ L.H.

SN: 30072-UP

1шт.

|9

\4\417-03-10220

GUARD,FAN

SN: 29005-30071

2шт.

|$$13

(417-03-11120{417-03-11130¤}

-1шт.

|$$14

01435-01020(2))

-1шт.

10

417-03-11130

GUARD,FAN¤ R.H.

SN: 30072-UP

1шт.

11

01435-01020

BOLT

SN: 30072-UP

2шт.

12

01010-51025

BOLT

SN: 29005-UP

6шт.

13

01643-31032

WASHER

SN: 29005-UP

6шт.

14

416-03-11221

CUSHION

SN: 29005-UP

4шт.

15

415-03-11210

SPACER

SN: 29005-UP

2шт.

16

416-03-11210

WASHER

SN: 29005-UP

4шт.

17

01010-31265

BOLT

SN: 29005-UP

2шт.

18

01580-01210

NUT

SN: 29005-UP

2шт.

19

01643-31232

WASHER

SN: 29005-UP

2шт.

20

417-03-10212

PLATE

SN: 29005-UP

2шт.

21

416-03-11250

CUSHION

SN: 29005-UP

2шт.

22

416-03-11260

CUSHION

SN: 29005-UP

4шт.

23

416-03-11270

SPACER

SN: 29005-UP

2шт.

24

419-43-17920

WASHER

SN: 29005-UP

4шт.

25

01010-51245

BOLT

SN: 29005-UP

2шт.

26

416-03-11282

BOLT

SN: 29005-UP

2шт.

27

01643-31232

WASHER

SN: 29005-UP

4шт.

28

01580-11210

NUT

SN: 29005-UP

2шт.

Выбрано товаров: 33