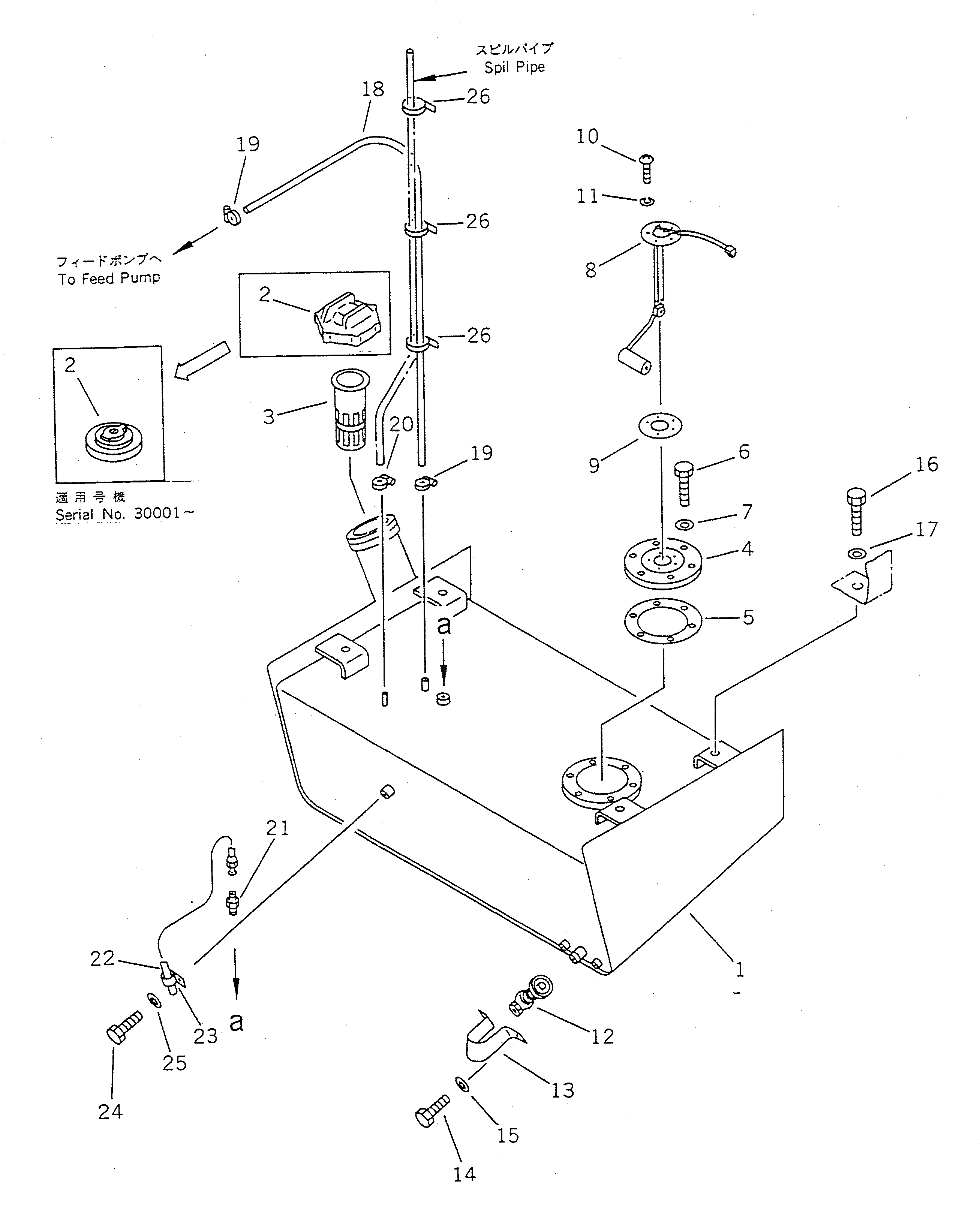
Запчасти Komatsu WR11-1 ТОПЛ. БАК И ТОПЛИВОПРОВОД КОМПОНЕНТЫ ДВИГАТЕЛЯ И ЭЛЕКТРИКА

Схема запчастей Komatsu WR11-1 - ТОПЛ. БАК И ТОПЛИВОПРОВОД КОМПОНЕНТЫ ДВИГАТЕЛЯ И ЭЛЕКТРИКА
FIT
1:1
100%

Артикул

Название

Примечание

Количество

1

416-04-10210

TANK

SN: 30001-UP

1шт.

|1

416-04-10115

TANK

SN: 29005-29999

1шт.

2

423-04-11361

CAP

SN: 30001-UP

1шт.

|2

0

CAP

SN: (30001-30039)

1шт.

|2

421-04-11260

CAP

SN: 29005-29999

1шт.

|2

20Y-04-11240

PACKING,3.0MM

SN: 30001-UP

1шт.

|2

07050-21202

GASKET

SN: 29005-29999

1шт.

|2

423-04-11770

PACKING¤ 1.0MM

SN: 30040-UP

-1шт.

3

07056-18416

STRAINER

SN: 29005-UP

1шт.

4

416-04-10150

COVER

SN: 29005-UP

1шт.

5

421-04-11191

GASKET

SN: 29005-UP

1шт.

6

01010-51025

BOLT

SN: 29144-UP

6шт.

|6

01010-31025

BOLT

SN: 29005-29143

6шт.

7

01643-31032

WASHER

SN: 29005-UP

6шт.

8

416-04-10120

SENSOR,LEVEL

SN: 29005-UP

1шт.

9

419-04-10140

GASKET

SN: 29005-UP

1шт.

10

01220-40512

SCREW

SN: 29005-UP

5шт.

11

01601-20513

WASHER,SPRING

SN: 29005-UP

5шт.

12

416-04-10130

VALVE

SN: 29005-UP

1шт.

13

416-04-10140

COVER

SN: 29005-UP

1шт.

14

01010-30820

BOLT

SN: 29005-UP

2шт.

15

01643-30823

WASHER

SN: 29005-UP

2шт.

16

01010-31235

BOLT

SN: 29005-UP

4шт.

17

175-54-34170

WASHER

SN: 29005-UP

4шт.

18

07270-21049

TUBE

SN: 29005-UP

1шт.

19

07281-00197

CLAMP

SN: 29005-UP

2шт.

20

07280-00910

CLAMP

SN: 29005-UP

1шт.

21

07214-51013

CONNECTOR

SN: 29005-UP

1шт.

22

416-04-10160

TUBE

SN: 29005-UP

1шт.

23

424-04-11120

CLIP

SN: 29005-UP

1шт.

24

01010-31016

BOLT

SN: 29005-UP

1шт.

25

01643-31032

WASHER

SN: 29005-UP

1шт.

26

08034-00519

BAND

SN: 29005-UP

3шт.

Выбрано товаров: 33