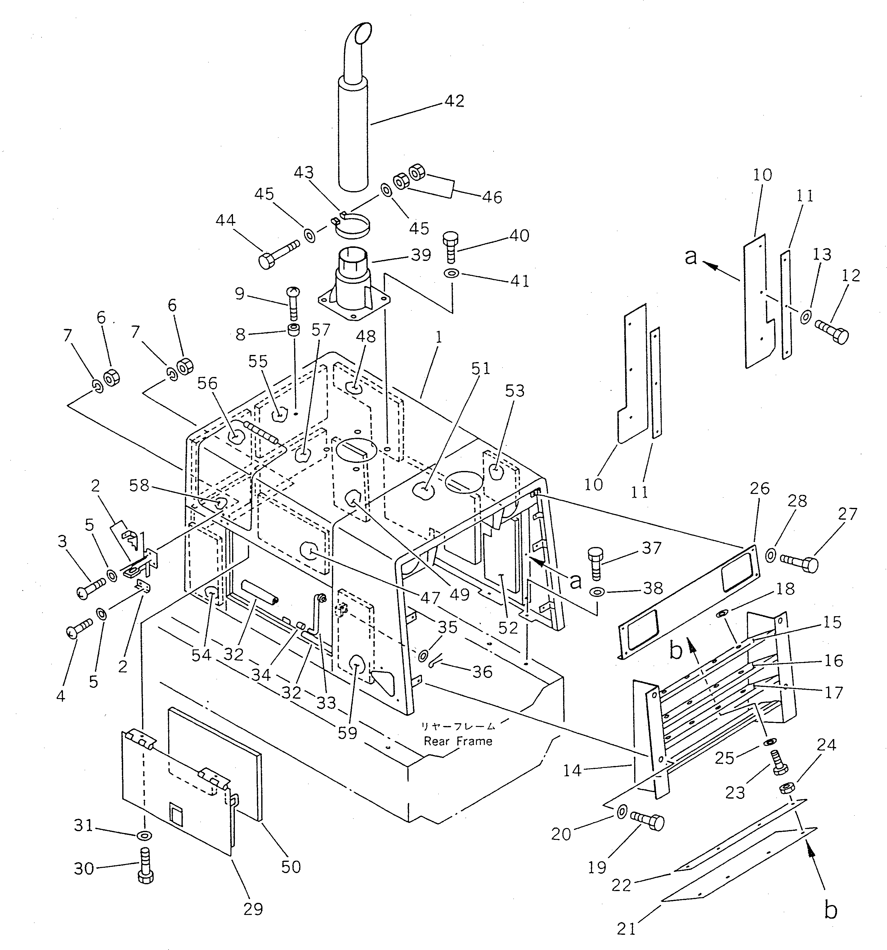
Запчасти Komatsu WR11-1 КАПОТ И БОКОВ. КРЫШКА (ДЛЯ ЯПОН.)(№98-) РАМА И ЧАСТИ КОРПУСА

Схема запчастей Komatsu WR11-1 - КАПОТ И БОКОВ. КРЫШКА (ДЛЯ ЯПОН.)(№98-) РАМА И ЧАСТИ КОРПУСА
FIT
1:1
100%

Артикул

Название

Примечание

Количество

1

416-54-11812

HOOD

SN: 30062-UP

1шт.

|1

0

HOOD

SN: 29005-30061

1шт.

2

424-09-12490

HOLDER

SN: 29005-UP

1шт.

3

01220-40412

SCREW

SN: 29005-UP

3шт.

4

01220-40416

SCREW

SN: 29005-UP

2шт.

5

01641-20405

WASHER

SN: 29005-UP

5шт.

6

01580-10403

NUT

SN: 29005-UP

5шт.

7

01601-20410

WASHER,SPRING

SN: 29005-UP

5шт.

8

425-54-12590

STOPPER

SN: 29005-UP

1шт.

9

01220-40416

SCREW

SN: 29005-UP

1шт.

10

417-54-11321

SHEET

SN: 29005-UP

2шт.

11

417-54-11251

PLATE

SN: 29005-UP

2шт.

12

01010-50820

BOLT

SN: 29005-UP

6шт.

13

01643-30823

WASHER

SN: 29005-UP

6шт.

14

41H-54-11120

GRILLE

SN: 29128-UP

1шт.

15

41H-54-11130

SHEET

SN: 29128-UP

2шт.

16

41H-54-11140

SHEET

SN: 29128-UP

1шт.

17

41H-54-11150

SHEET

SN: 29128-UP

1шт.

18

04431-30000

PLATE

SN: 29005-UP

16шт.

19

01010-51260

BOLT

SN: 29005-UP

4шт.

20

01643-31232

WASHER

SN: 29005-UP

4шт.

21

41H-54-11160

SHEET

SN: 29128-UP

1шт.

22

41H-54-11170

SHEET

SN: 29128-UP

1шт.

23

01010-50820

BOLT

SN: 29005-UP

4шт.

24

01580-10806

NUT

SN: 29005-UP

4шт.

25

01643-30823

WASHER

SN: 29005-UP

4шт.

26

417-54-11183

COVER

SN: 29005-UP

1шт.

27

01010-50816

BOLT

SN: 29005-UP

4шт.

28

01643-30823

WASHER

SN: 29005-UP

4шт.

29

416-54-11821

DOOR,L.H.

SN: 29005-UP

1шт.

|29

416-54-11831

DOOR,R.H.

SN: 29005-UP

1шт.

|29

09461-00020

LEVER ASS'Y

SN: 29005-UP

1шт.

30

01010-51220

BOLT

SN: 29005-UP

4шт.

31

01643-31232

WASHER

SN: 29005-UP

4шт.

32

417-54-11270

SHEET

SN: 29005-UP

4шт.

33

416-54-11840

ROD

SN: 29005-UP

2шт.

34

416-54-11171

HOSE

SN: 29005-UP

2шт.

35

01641-21016

WASHER

SN: 29005-UP

2шт.

36

04050-12015

PIN,COTTER

SN: 29005-UP

2шт.

37

01010-51230

BOLT

SN: 29005-UP

8шт.

38

01643-31232

WASHER

SN: 29005-UP

8шт.

39

417-02-11112

BRACKET

SN: 29005-UP

1шт.

40

01010-51225

BOLT

SN: 29005-UP

4шт.

41

124-54-26540

WASHER

SN: 29005-UP

4шт.

42

417-02-11130

PIPE,EXHAUST

SN: 29005-UP

1шт.

43

417-02-11121

CLAMP

SN: 29005-UP

1шт.

44

01010-51290

BOLT

SN: 29005-UP

1шт.

45

01640-21223

WASHER

SN: 29005-UP

2шт.

46

01580-11210

NUT

SN: 29005-UP

2шт.

47

416-Z90-1161

SHEET

SN: 29128-UP

1шт.

48

416-Z90-1171

SHEET

SN: 29128-UP

1шт.

49

417-54-11380

SHEET

SN: 29128-UP

1шт.

50

417-54-17161

SHEET

SN: 29128-UP

1шт.

51

417-54-17171

SHEET

SN: 29128-UP

1шт.

52

417-54-17180

SHEET

SN: 29128-UP

1шт.

53

417-54-17190

SHEET

SN: 29128-UP

1шт.

54

417-54-17210

SHEET

SN: 29128-UP

1шт.

55

417-54-17220

SHEET

SN: 29128-UP

1шт.

56

417-54-17230

SHEET

SN: 29128-UP

1шт.

57

417-54-17241

SHEET

SN: 29128-UP

1шт.

58

417-54-17251

SHEET

SN: 29128-UP

1шт.

59

417-54-17280

SHEET

SN: 29128-UP

1шт.

Выбрано товаров: 62