Запчасти Komatsu WR11-1 БАЧОК ОМЫВАТЕЛЯ(С КОНДИЦИОНЕРОМ) РАМА И ЧАСТИ КОРПУСА

Схема запчастей Komatsu WR11-1 - БАЧОК ОМЫВАТЕЛЯ(С КОНДИЦИОНЕРОМ) РАМА И ЧАСТИ КОРПУСА
FIT
1:1
100%

Артикул

Название

Примечание

Количество

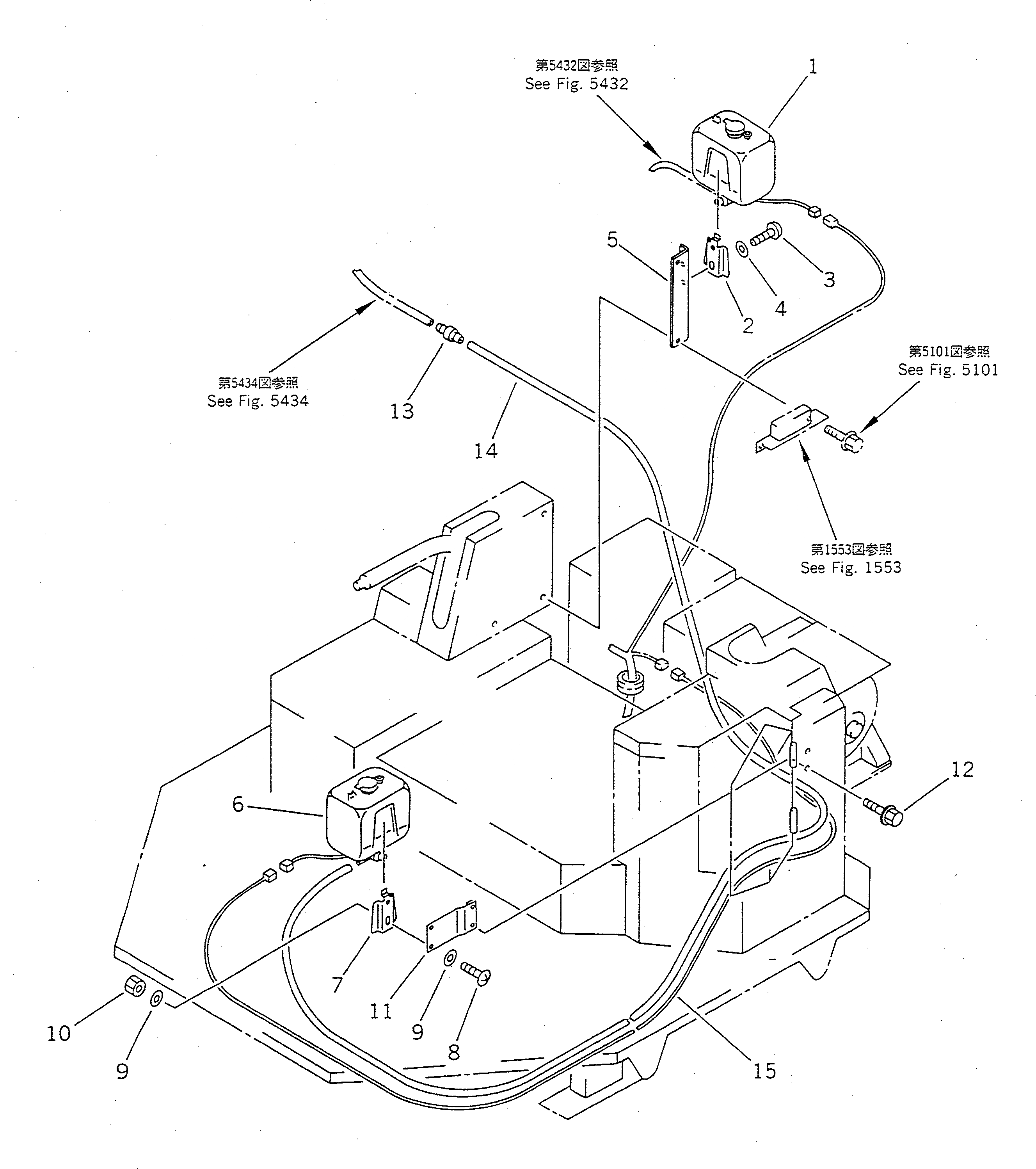
1

421-07-15160

TANK,WASHER¤ FRONT

SN: 29005-UP

1шт.

2

421-07-15170

BRACKET

SN: 29005-UP

1шт.

3

01220-40645

SCREW

SN: 29005-UP

2шт.

4

01643-30623

WASHER

SN: 29005-UP

2шт.

5

417-963-3910

BRACKET

SN: 29005-UP

1шт.

6

421-07-15160

TANK,WASHER¤ REAR

SN: 29005-UP

1шт.

7

421-07-15170

BRACKET

SN: 29005-UP

1шт.

8

01220-40612

SCREW

SN: 29005-UP

2шт.

9

01643-30623

WASHER

SN: 29005-UP

4шт.

10

01584-00605

NUT

SN: 29005-UP

2шт.

11

417-963-3880

BRACKET

SN: 29005-UP

1шт.

12

01435-00816

BOLT

SN: 29005-UP

2шт.

13

421-07-15110

JOINT

SN: 29005-UP

1шт.

14

424-07-15110

HOSE

SN: 29005-UP

1шт.

15

417-963-3890

WIRE ASS'Y

SN: 29005-UP

1шт.

Выбрано товаров: 0