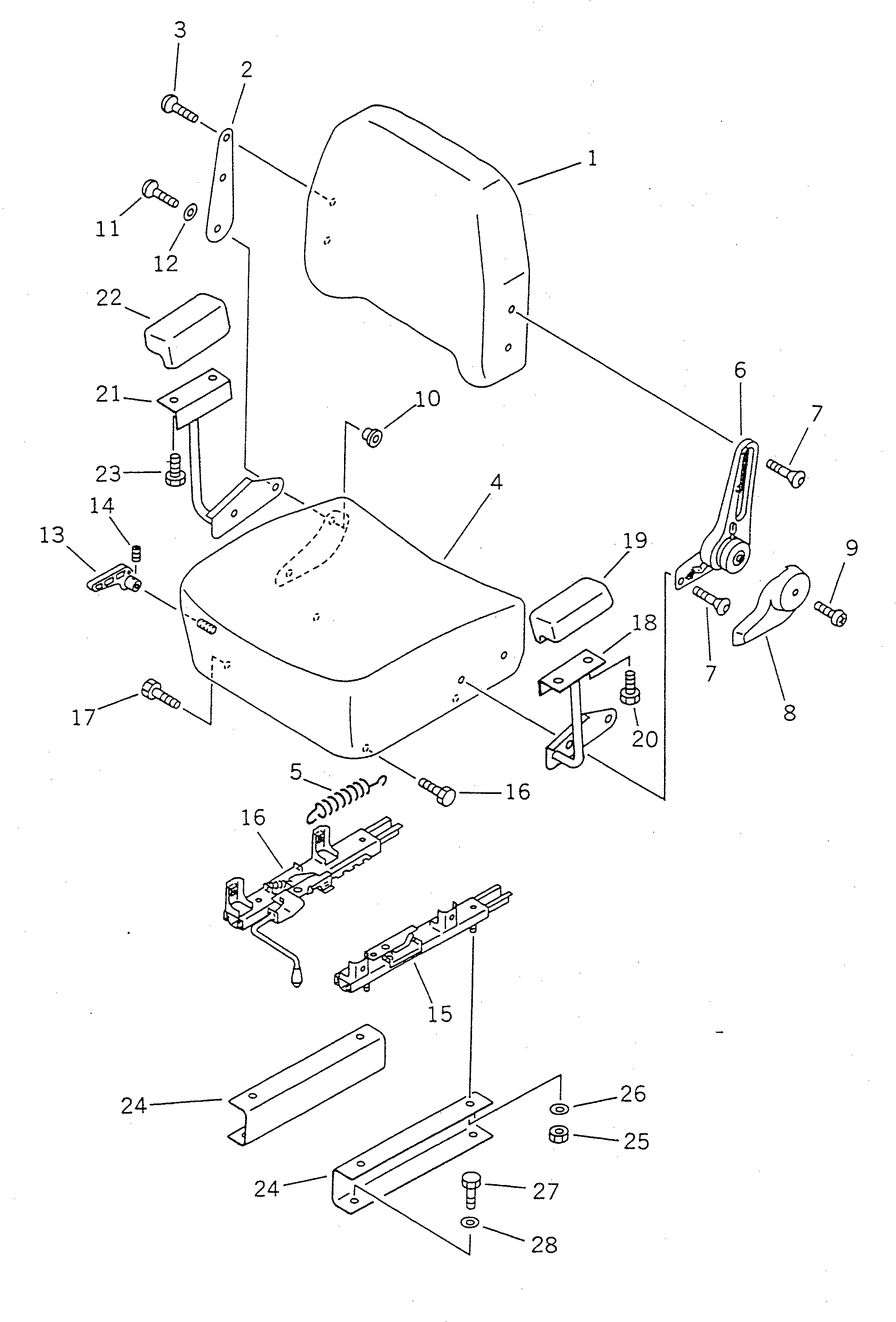
Запчасти Komatsu WR11-1 СИДЕНЬЕ ОПЕРАТОРА (ЖЕСТК.) РАМА И ЧАСТИ КОРПУСА

Схема запчастей Komatsu WR11-1 - СИДЕНЬЕ ОПЕРАТОРА (ЖЕСТК.) РАМА И ЧАСТИ КОРПУСА
FIT
1:1
100%

Артикул

Название

Примечание

Количество

|$0

417-57-11211

SEAT ASS'Y

SN: 29005-UP

1шт.

|$1

417-57-11220

SEAT ASS'Y

SN: 29005-UP

1шт.

1

417-57-11250

CUSHION,BACK

SN: 29005-UP

1шт.

2

423-57-11490

BRACKET

SN: 29005-UP

1шт.

3

423-57-11380

BOLT

SN: 29005-UP

2шт.

4

417-57-11260

CUSHION,SEAT

SN: 29005-UP

1шт.

5

417-57-11650

SPRING

SN: 29005-UP

1шт.

6

423-57-11330

RECLINING ASS'Y

SN: 29005-UP

1шт.

7

423-57-11380

BOLT

SN: 29005-UP

4шт.

8

423-57-11371

COVER

SN: 29005-UP

1шт.

9

423-57-11160

SCREW

SN: 29005-UP

1шт.

10

423-57-11420

BUSHING

SN: 29005-UP

1шт.

11

423-57-11430

SCREW

SN: 29005-UP

1шт.

12

423-57-11440

WASHER

SN: 29005-UP

1шт.

13

423-57-11360

LEVER

SN: 29005-UP

1шт.

14

423-57-11410

SCREW

SN: 29005-UP

1шт.

15

423-57-11350

SLIDE,L.H.

SN: 29005-UP

1шт.

16

417-57-11270

SLIDE,R.H.

SN: 29005-UP

1шт.

17

423-57-11390

BOLT

SN: 29005-UP

4шт.

|$19

417-57-11231

ARM REST ASS'Y,L.H.

SN: 29005-UP

1шт.

18

417-57-11340

ARM,L.H.

SN: 29005-UP

1шт.

19

417-57-11310

ARM,REST

SN: 29005-UP

1шт.

20

417-57-11360

BOLT

SN: 29005-UP

2шт.

|$23

417-57-11241

ARM REST ASS'Y,R.H.

SN: 29005-UP

1шт.

21

417-57-11350

ARM,R.H.

SN: 29005-UP

1шт.

22

417-57-11310

ARM,REST

SN: 29005-UP

1шт.

23

417-57-11360

BOLT

SN: 29005-UP

2шт.

24

41H-54-12220

SUPPORT

SN: 29174-UP

2шт.

24

0

SUPPORT

SN: 29005-29173

2шт.

25

01580-10806

NUT

SN: 29005-UP

4шт.

26

01643-30823

WASHER

SN: 29005-UP

4шт.

27

01010-51225

BOLT

SN: 29005-UP

4шт.

28

01643-31232

WASHER

SN: 29005-UP

4шт.

Выбрано товаров: 33