Качественные детали и логистика
Оригинальные и аналоговые запчасти с доставкой по России, Казахстану и Беларуси
©2022 PartSell ООО "Система" ИНН 2463123282 ОГРН 1212400004838
Центральный офис: г. Красноярск, Академика Киренского, д.87, пом.4
Телефон: 8 (800) 777-65-74 Email: zakaz@partsell.ru
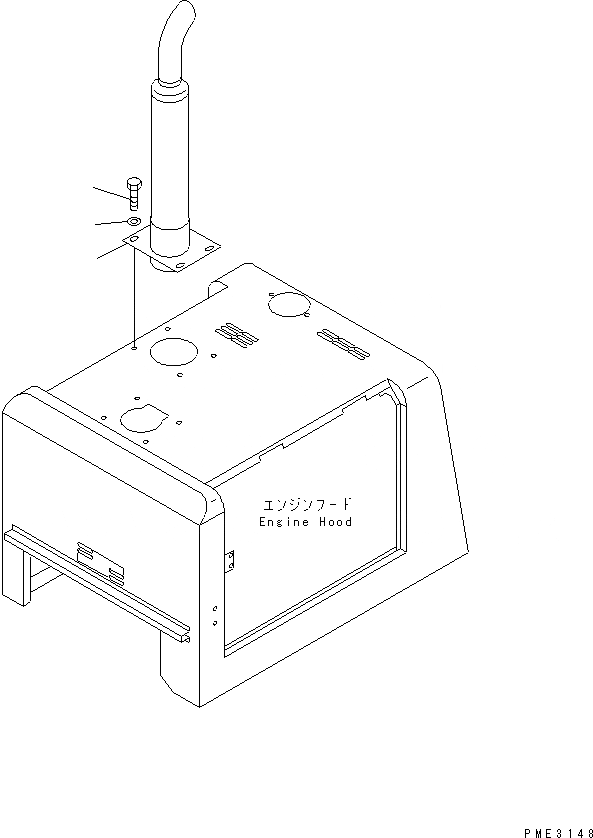
ВЫХЛОПНАЯ ТРУБА
№
Артикул
Название
Примечание
Количество
1
416-02-21512
PIPE
SN: 53001-UP
1шт.
2
01010-81225
BOLT
4шт.
3
175-54-34170
WASHER
Выбрано товаров: 0