Запчасти Komatsu WR11SS-1 ЭЛЕКТРИКА (ЗАДН.) (/) КОМПОНЕНТЫ ДВИГАТЕЛЯ И ЭЛЕКТРИКА

Схема запчастей Komatsu WR11SS-1 - ЭЛЕКТРИКА (ЗАДН.) (/) КОМПОНЕНТЫ ДВИГАТЕЛЯ И ЭЛЕКТРИКА
FIT
1:1
100%

Артикул

Название

Примечание

Количество

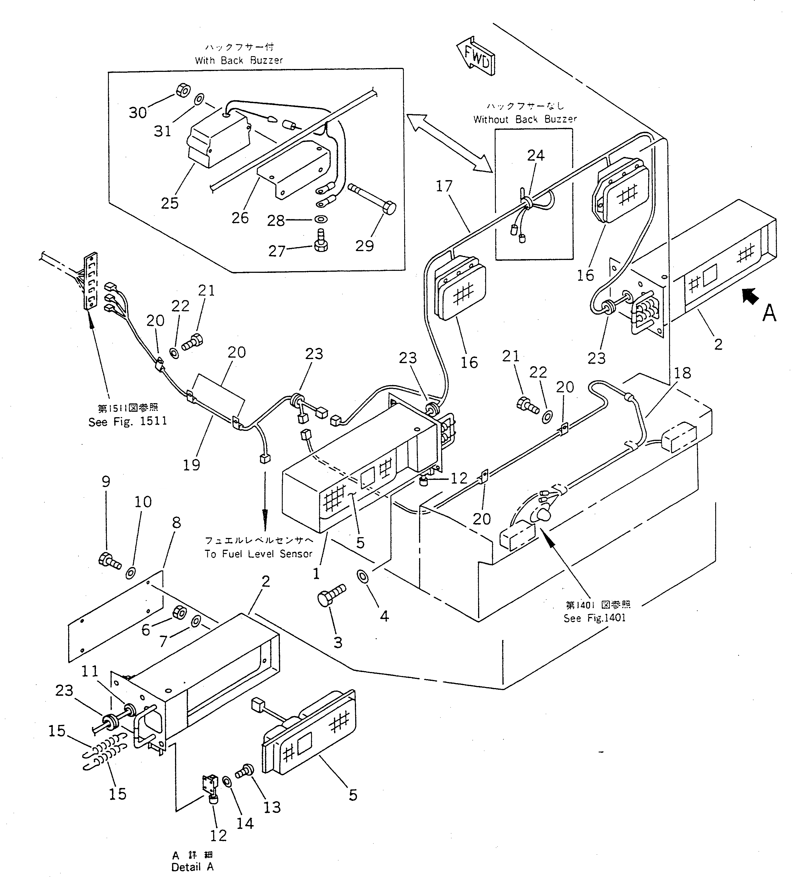
1

417-06-13454

BOX,L.H.

SN: 29005-UP

1шт.

2

417-06-13464

BOX,R.H.

SN: 29005-UP

1шт.

3

01010-51225

BOLT

SN: 29005-UP

8шт.

4

01643-31232

WASHER

SN: 29005-UP

8шт.

5

415-06-13220

COMBINATION LAMP A.,L.H.

SN: 29005-UP

1шт.

5

415-06-13210

COMBINATION LAMP A.,R.H.

SN: 29005-UP

1шт.

5

415-06-13270

LENS,L.H.

SN: 29005-UP

1шт.

5

415-06-13260

LENS,R.H.

SN: 29005-UP

1шт.

5

08104-12420

BULB, 25/10W

SN: 29005-UP

1шт.

5

08105-12420

BULB, 25W

SN: 29005-UP

2шт.

5

08102-02403

BULB, 3W

SN: 29005-UP

1шт.

6

01580-10504

NUT

SN: 29005-UP

8шт.

7

01641-20508

WASHER

SN: 29005-UP

8шт.

8

417-06-13441

COVER

SN: 29005-UP

2шт.

9

01010-50612

BOLT

SN: 29005-UP

8шт.

10

01643-30623

WASHER

SN: 29005-UP

8шт.

11

08037-02512

GROMMET

SN: 29005-UP

2шт.

12

417-06-13740

LOCK

SN: 29005-UP

2шт.

13

01220-40308

SCREW

SN: 29005-UP

8шт.

14

01641-20305

WASHER

SN: 29005-UP

8шт.

15

417-06-13432

SPRING

SN: 29005-UP

4шт.

16

22W-06-12381

LAMP ASS'Y

SN: 29005-UP

2шт.

16

22W-06-12170

BULB

SN: 29005-UP

1шт.

16

421-06-13120

CUSHION

SN: 29005-UP

4шт.

17

416-Z97-1120

WIRE ASS'Y,(MODIFIED PART)

SN: 29005-UP

1шт.

17

416-Z97-1290

CABLE

SN: 29005-UP

2шт.

18

417-06-12312

WIRE ASS'Y

SN: 29005-UP

1шт.

19

417-06-12234

WIRE ASS'Y

SN: 29005-UP

1шт.

20

08036-01414

CLIP

SN: 29005-UP

5шт.

21

01010-31020

BOLT

SN: 29005-UP

5шт.

22

01643-31032

WASHER

SN: 29005-UP

5шт.

23

08037-03614

GROMMET

SN: 29005-UP

3шт.

24

08034-00414

BAND,(WITHOUT BACK BUZZER)

SN: 29005-UP

1шт.

25

08164-00000

BUZZER,BACK

SN: 29005-UP

1шт.

26

417-Z25-1110

PLATE,(WITH BACK BUZZER)

SN: 29005-UP

1шт.

27

01010-50820

BOLT,(WITH BACK BUZZER)

SN: 29005-UP

2шт.

28

01643-30823

WASHER,(WITH BACK BUZZER)

SN: 29005-UP

2шт.

29

01011-51000

BOLT,(WITH BACK BUZZER)

SN: 29005-UP

2шт.

30

426-43-19160

NUT,(WITH BACK BUZZER)

SN: 29005-UP

2шт.

31

01643-31032

WASHER,(WITH BACK BUZZER)

SN: 29005-UP

2шт.

Выбрано товаров: 40