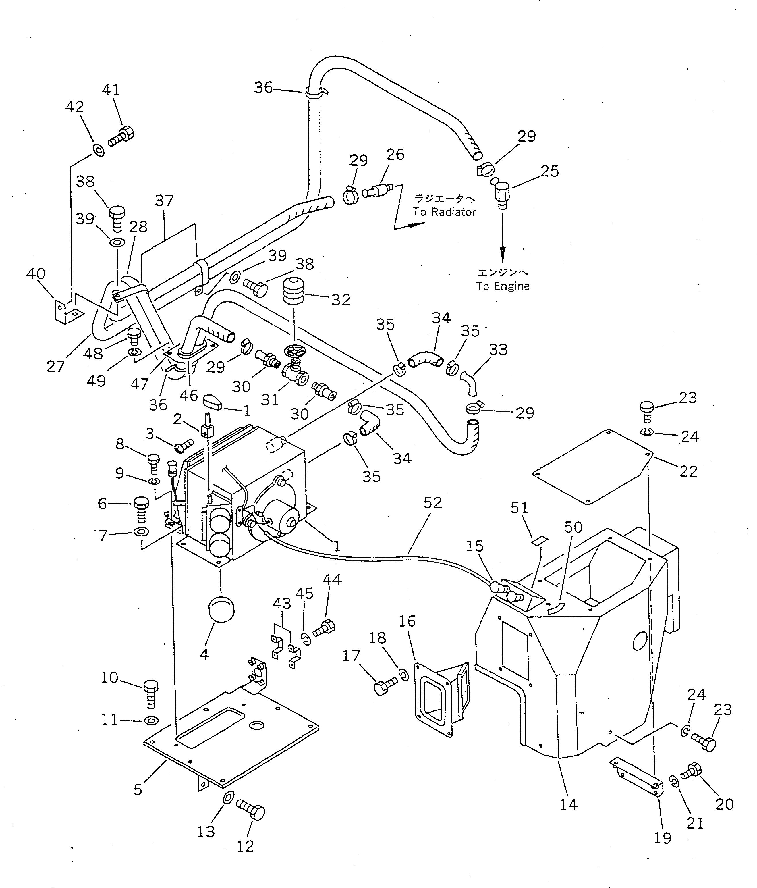
Запчасти Komatsu WR11SS-1 ОБОГРЕВАТЕЛЬ. И АНТИОБЛЕДЕНИТЕЛЬ (/) (ДЛЯ USSR) (КРОМЕ ЯПОН.) РАМА И ЧАСТИ КОРПУСА

Схема запчастей Komatsu WR11SS-1 - ОБОГРЕВАТЕЛЬ. И АНТИОБЛЕДЕНИТЕЛЬ (/) (ДЛЯ USSR) (КРОМЕ ЯПОН.) РАМА И ЧАСТИ КОРПУСА
FIT
1:1
100%

Артикул

Название

Примечание

Количество

1

416-942-1122

HEATER UNIT ASS'Y

SN: 29005-UP

1шт.

2

416-942-1761

ROD

SN: 29005-UP

1шт.

3

01220-40308

SCREW

SN: 29005-UP

1шт.

4

416-942-1630

CAP

SN: 29005-UP

1шт.

5

416-942-1452

BRACKET

SN: 29005-UP

1шт.

6

01010-51025

BOLT

SN: 29005-UP

4шт.

7

01643-31032

WASHER

SN: 29005-UP

4шт.

8

01010-50612

BOLT

SN: 29005-UP

2шт.

9

01602-20619

WASHER,SPRING

SN: 29005-UP

2шт.

10

01010-51035

BOLT

SN: 29005-UP

2шт.

11

01643-31032

WASHER

SN: 29005-UP

2шт.

12

01010-51020

BOLT

SN: 29005-UP

2шт.

13

01643-31032

WASHER

SN: 29005-UP

2шт.

14

416-942-1411

COVER

SN: 29005-UP

1шт.

15

416-942-1160

SWITCH,HEATER

SN: 29005-UP

1шт.

16

416-942-1431

DUCT

SN: 29005-UP

1шт.

17

01010-50612

BOLT

SN: 29005-UP

4шт.

18

01602-20619

WASHER,SPRING

SN: 29005-UP

4шт.

19

416-942-1460

BRACKET

SN: 29005-UP

1шт.

20

01010-50612

BOLT

SN: 29005-UP

2шт.

21

01602-20619

WASHER,SPRING

SN: 29005-UP

2шт.

22

416-942-1421

COVER

SN: 29005-UP

1шт.

23

01010-50616

BOLT

SN: 29005-UP

5шт.

24

01602-20619

WASHER,SPRING

SN: 29005-UP

5шт.

25

416-942-1543

ELBOW

SN: 29005-UP

1шт.

26

416-942-1560

CONNECTOR

SN: 29005-UP

1шт.

27

09483-10524

HOSE

SN: 29005-UP

1шт.

28

09483-10520

HOSE

SN: 29005-UP

1шт.

29

07281-00259

CLAMP

SN: 29005-UP

4шт.

30

416-942-1560

CONNECTOR

SN: 29005-UP

2шт.

31

416-942-1510

VALVE,WATER

SN: 29005-UP

1шт.

32

416-942-1580

BOOT

SN: 29005-UP

1шт.

33

416-942-1550

ELBOW

SN: 29005-UP

1шт.

34

09483-30550

HOSE

SN: 29005-UP

2шт.

35

07281-00259

CLAMP

SN: 29005-UP

4шт.

36

08034-20536

BAND

SN: 29005-UP

2шт.

37

421-07-11760

CLIP

SN: 29005-UP

2шт.

38

01010-51220

BOLT

SN: 29005-UP

2шт.

39

01643-31232

WASHER

SN: 29005-UP

2шт.

40

416-942-1860

BRACKET

SN: 29005-UP

1шт.

41

01010-51020

BOLT

SN: 29005-UP

1шт.

42

01643-31032

WASHER

SN: 29005-UP

1шт.

43

416-942-1521

PLATE

SN: 29005-UP

2шт.

44

01010-50612

BOLT

SN: 29005-UP

4шт.

45

01602-20619

WASHER,SPRING

SN: 29005-UP

4шт.

46

416-942-1530

GROMMET

SN: 29005-UP

1шт.

47

416-942-1871

PLATE

SN: 29005-UP

1шт.

48

01010-50612

BOLT

SN: 29005-UP

2шт.

49

01602-20619

WASHER,SPRING

SN: 29005-UP

2шт.

50

416-942-1810

PLATE, OPERATING

SN: 29005-UP

1шт.

51

416-942-1791

PLATE, OPERATING

SN: 29005-UP

1шт.

52

416-942-1180

WIRE ASS'Y

SN: 29005-UP

1шт.

Выбрано товаров: 0