Запчасти Komatsu WR11SS-1 ПРИБОРНАЯ ПАНЕЛЬ (С КАБИНОЙ) РАМА И ЧАСТИ КОРПУСА

Схема запчастей Komatsu WR11SS-1 - ПРИБОРНАЯ ПАНЕЛЬ (С КАБИНОЙ) РАМА И ЧАСТИ КОРПУСА
FIT
1:1
100%

Артикул

Название

Примечание

Количество

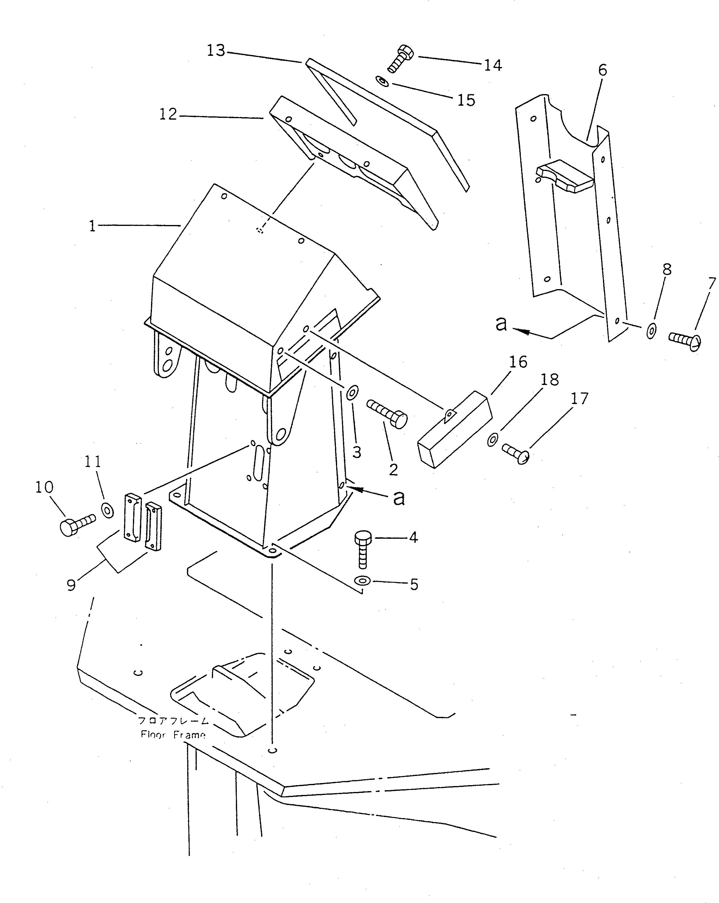
1

416-54-12413

SUPPORT

SN: 29174-UP

1шт.

1

416-54-12412

SUPPORT

SN: 29005-29173

1шт.

2

01010-51020

BOLT

SN: 29005-UP

2шт.

3

01643-31032

WASHER

SN: 29005-UP

2шт.

4

01010-51225

BOLT

SN: 29005-UP

4шт.

5

01643-31232

WASHER

SN: 29005-UP

4шт.

6

416-54-12420

COVER

SN: 29005-UP

1шт.

6

416-54-12450

SHEET

SN: 29005-UP

1шт.

7

01220-40816

SCREW

SN: 29005-UP

6шт.

8

01643-30823

WASHER

SN: 29005-UP

6шт.

9

417-54-12381

COVER

SN: 29005-UP

2шт.

10

01010-50816

BOLT

SN: 29005-UP

4шт.

11

01643-30823

WASHER

SN: 29005-UP

4шт.

12

416-54-12310

PANEL

SN: 29005-UP

1шт.

13

417-54-12322

PROTECTOR

SN: 29005-UP

1шт.

14

01010-50816

BOLT

SN: 29005-UP

4шт.

15

01643-30823

WASHER

SN: 29005-UP

4шт.

16

417-54-12681

COVER

SN: 29005-UP

1шт.

17

01232-00616

SCREW

SN: 29005-UP

1шт.

18

01643-30623

WASHER

SN: 29005-UP

1шт.

Выбрано товаров: 20