Запчасти Komatsu WR8-1 КОНДИЦ. ВОЗДУХА (/9) (NIPPON DENSO) РАМА И ЧАСТИ КОРПУСА

Схема запчастей Komatsu WR8-1 - КОНДИЦ. ВОЗДУХА (/9) (NIPPON DENSO) РАМА И ЧАСТИ КОРПУСА
FIT
1:1
100%

Артикул

Название

Примечание

Количество

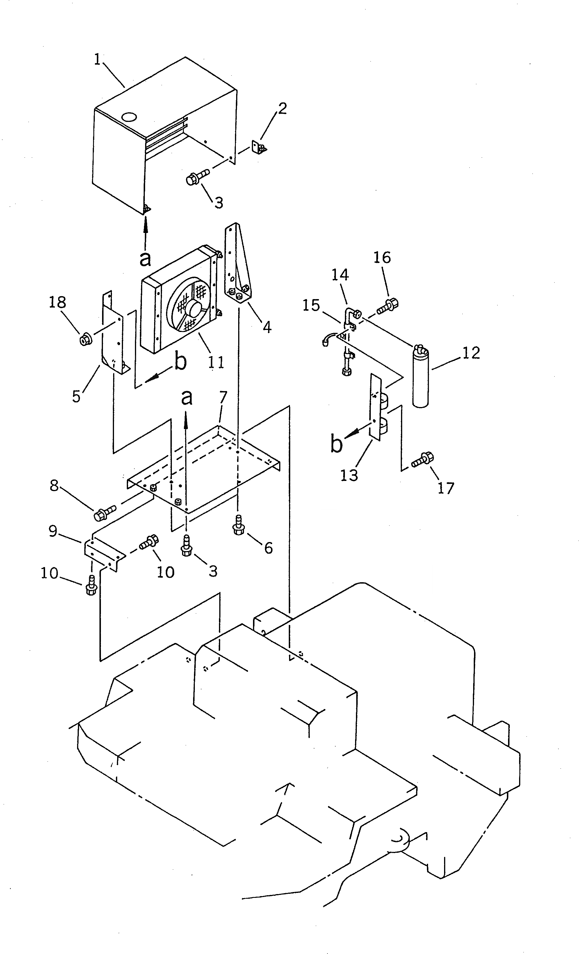
1

415-963-1390

COVER

SN: 19001-UP

1шт.

2

415-963-1370

PLATE

SN: 19001-UP

1шт.

3

01435-01020

BOLT

SN: 19001-UP

4шт.

4

415-963-1350

BRACKET

SN: 19001-UP

1шт.

5

415-963-1360

BRACKET

SN: 19001-UP

1шт.

6

01435-01020

BOLT

SN: 19001-UP

4шт.

7

415-963-1410

BRACKET

SN: 19001-UP

1шт.

8

01435-01220

BOLT

SN: 19001-UP

2шт.

9

415-963-1380

PLATE

SN: 19001-UP

1шт.

10

01435-00816

BOLT

SN: 19001-UP

4шт.

11

423-T43-1210

CONDENSER ASS'Y

SN: 19001-UP

1шт.

12

423-T43-1410

TANK

SN: 19001-UP

1шт.

13

417-963-3190

HOLDER

SN: 19001-UP

1шт.

14

417-963-3140

TUBE,(WITH SWITCH)

SN: 19001-UP

1шт.

|14

ND113440-1050

SWITCH,PRESSURE

SN: 19001-UP

1шт.

15

417-963-3180

BOLT

SN: 19001-UP

2шт.

16

417-963-3150

BOLT

SN: 19001-UP

2шт.

17

01435-00816

BOLT

SN: 19001-UP

2шт.

18

01584-00806

NUT

SN: 19001-UP

2шт.

Выбрано товаров: 19