Запчасти Komatsu WR8-1 LIFT И КОВШ РЫЧАГ УПРАВЛ-Я УПРАВЛ-Е РАБОЧИМ ОБОРУДОВАНИЕМ

Схема запчастей Komatsu WR8-1 - LIFT И КОВШ РЫЧАГ УПРАВЛ-Я УПРАВЛ-Е РАБОЧИМ ОБОРУДОВАНИЕМ
FIT
1:1
100%

Артикул

Название

Примечание

Количество

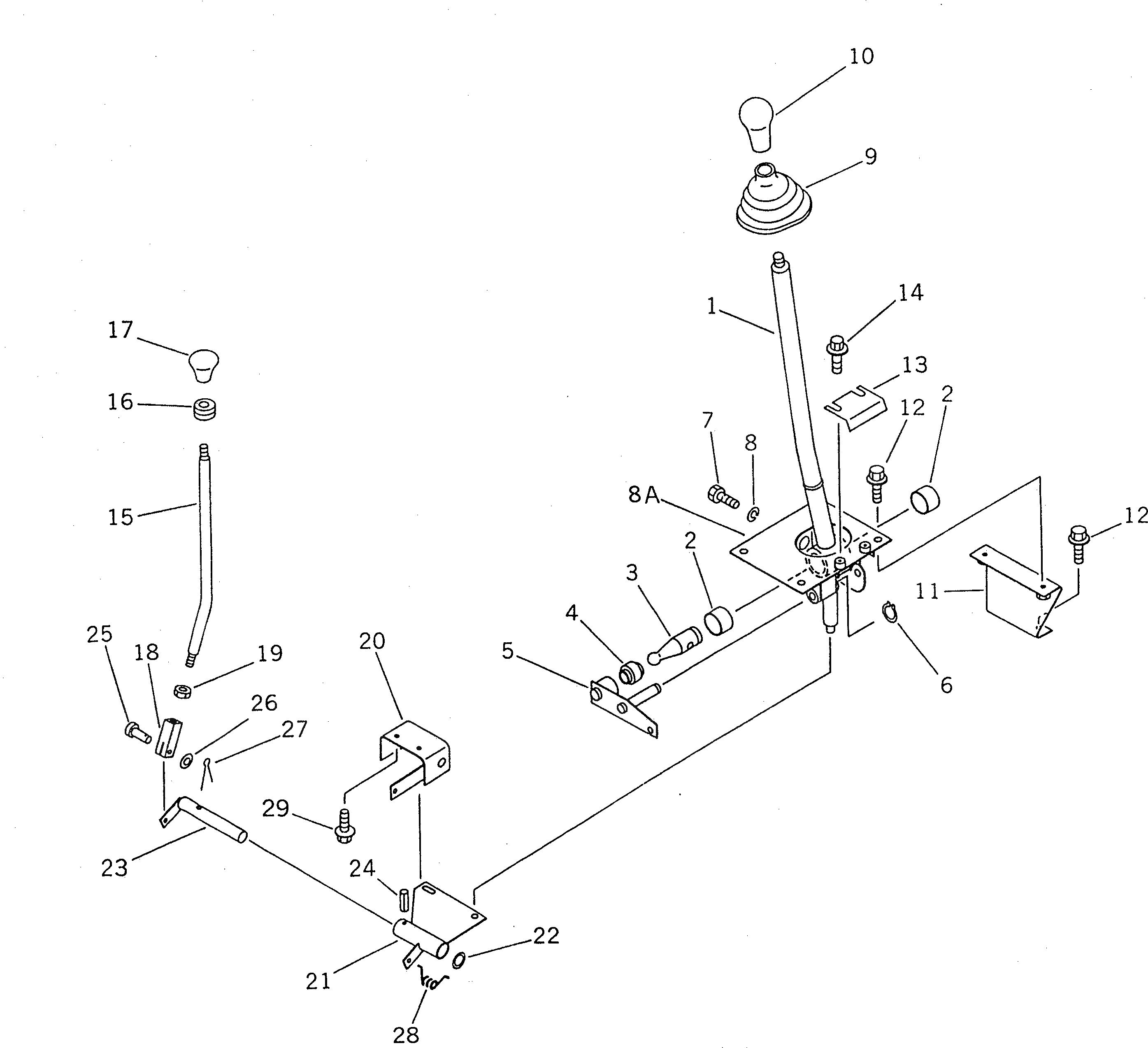
|1

415-43-18113

LEVER ASS'Y

SN: 19001-UP

1шт.

1

415-43-18330

LEVER

SN: 19001-UP

1шт.

2

415-43-18340

BUSHING

SN: 19001-UP

2шт.

3

415-43-18350

PIN

SN: 19001-UP

1шт.

4

415-43-18360

BOOT

SN: 19001-UP

1шт.

5

415-43-18370

LINK

SN: 19001-UP

1шт.

6

415-43-18380

RING,SNAP

SN: 19001-UP

1шт.

7

415-43-18390

BOLT

SN: 19001-UP

1шт.

8

01602-21442

WASHER,SPRING

SN: 19001-UP

1шт.

8A

415-43-18410

SUPPORT

SN: 19001-UP

1шт.

9

415-43-18280

BOOT

SN: 19001-UP

1шт.

10

113-43-23420

KNOB

SN: 19001-UP

1шт.

11

415-43-18270

BRACKET

SN: 19001-UP

1шт.

12

01435-01025

BOLT

SN: 19001-UP

6шт.

13

415-43-18451

PLATE

SN: 19001-UP

1шт.

14

01435-00816

BOLT

SN: 19001-UP

2шт.

15

415-43-18222

ROD

SN: 19001-UP

1шт.

16

415-43-18231

GROMMET

SN: 19001-UP

1шт.

17

415-43-18250

KNOB

SN: 19001-UP

1шт.

18

04210-20624

YOKE

SN: 19001-UP

1шт.

19

01580-10605

NUT

SN: 19001-UP

1шт.

20

415-43-18242

SUPPORT

SN: 19001-UP

1шт.

21

41G-43-18210

LEVER

SN: 19001-UP

1шт.

22

417-43-18410

SHIM¤ 0.8MM

SN: 19001-UP

2шт.

23

415-43-18260

PIN

SN: 19001-UP

1шт.

24

04025-00520

PIN,SPRING

SN: 19001-UP

1шт.

25

04205-10620

PIN

SN: 19001-UP

1шт.

26

01641-20608

WASHER

SN: 19001-UP

1шт.

27

04050-11612

PIN,COTTER

SN: 19001-UP

1шт.

28

09467-00002

SPRING

SN: 19001-UP

1шт.

29

01435-00820

BOLT

SN: 19001-UP

2шт.

Выбрано товаров: 31