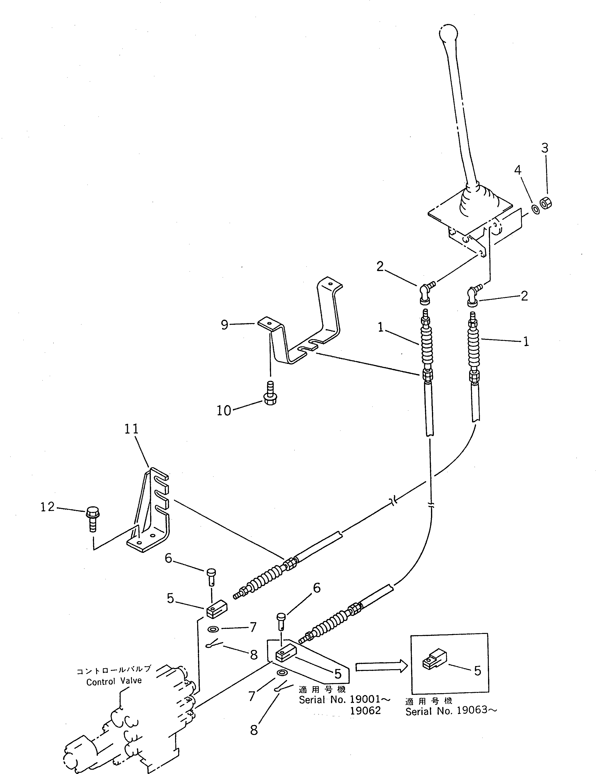
Запчасти Komatsu WR8-1 LIFT И КОВШ МЕХ-М УПРАВЛ-Я УПРАВЛ-Е РАБОЧИМ ОБОРУДОВАНИЕМ

Схема запчастей Komatsu WR8-1 - LIFT И КОВШ МЕХ-М УПРАВЛ-Я УПРАВЛ-Е РАБОЧИМ ОБОРУДОВАНИЕМ
FIT
1:1
100%

Артикул

Название

Примечание

Количество

1

415-43-18290

CABLE

SN: 19001-UP

2шт.

2

417-09-12130

JOINT

SN: 19001-UP

2шт.

3

426-09-11140

NUT

SN: 19001-UP

2шт.

4

01643-30823

WASHER

SN: 19001-UP

2шт.

5

415-43-18460

YOKE

SN: 19063-UP

2шт.

|5

0

YOKE

SN: 19001-19062

2шт.

6

04205-10620

PIN

SN: 19063-UP

2шт.

|6

04205-10625

PIN

SN: 19001-19062

2шт.

7

01641-20608

WASHER

SN: 19001-19062

2шт.

8

04050-11612

PIN,COTTER

SN: 19001-UP

2шт.

9

415-43-18311

BRACKET

SN: 19001-UP

1шт.

10

01435-01020

BOLT

SN: 19001-UP

2шт.

11

41G-43-18152

BRACKET

SN: 19001-UP

1шт.

12

01435-01025

BOLT

SN: 19001-UP

2шт.

Выбрано товаров: 14