Запчасти Komatsu WR8-1 ТОПЛ. БАК И ТОПЛИВОПРОВОД КОМПОНЕНТЫ ДВИГАТЕЛЯ И ЭЛЕКТРИКА

Схема запчастей Komatsu WR8-1 - ТОПЛ. БАК И ТОПЛИВОПРОВОД КОМПОНЕНТЫ ДВИГАТЕЛЯ И ЭЛЕКТРИКА
FIT
1:1
100%

Артикул

Название

Примечание

Количество

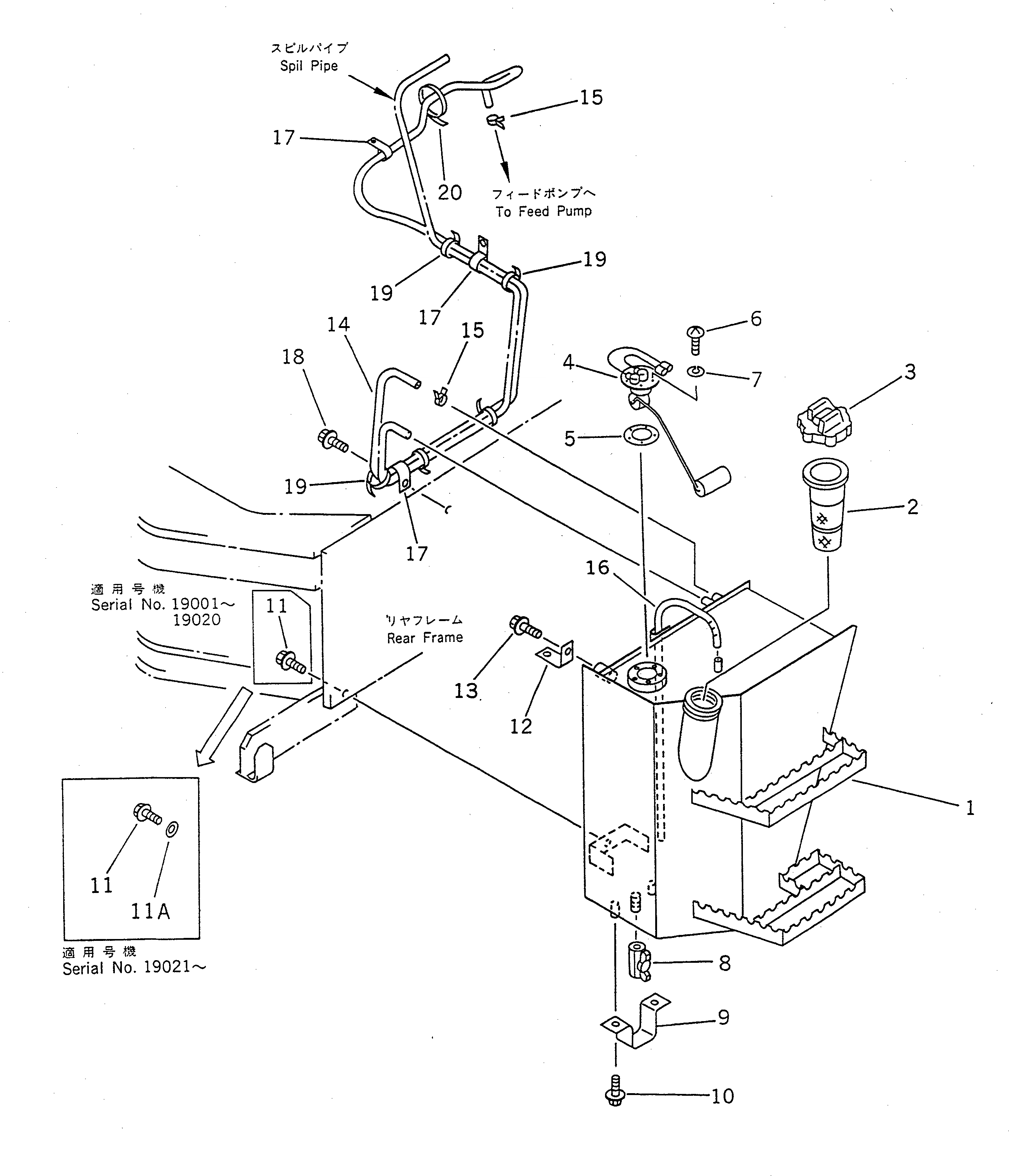
1

415-04-11117

TANK,FUEL

SN: 19001-UP

1шт.

2

07056-16415

STRAINER

SN: 19001-UP

1шт.

3

415-04-11170

CAP

SN: 19001-UP

1шт.

|3

41G-04-11110

CAP,(OEM PARTS)

SN: 19001-UP

1шт.

|3

07050-20902

GASKET

SN: 19001-UP

1шт.

4

415-04-11140

SENSOR,LEVEL

SN: 19001-UP

1шт.

5

419-04-10140

GASKET

SN: 19001-UP

1шт.

6

01220-40512

SCREW

SN: 19001-UP

5шт.

7

01601-20513

WASHER,SPRING

SN: 19001-UP

5шт.

8

363-04-11130

VALVE

SN: 19001-UP

1шт.

9

415-04-11230

COVER

SN: 19001-UP

1шт.

10

01435-00816

BOLT

SN: 19001-UP

2шт.

11

01010-51240

BOLT

SN: 19021-UP

1шт.

|11

01435-01235

BOLT

SN: 19001-19020

1шт.

11A

124-54-26540

WASHER

SN: 19021-UP

1шт.

12

415-04-11220

PLATE

SN: 19001-UP

1шт.

13

01435-01220

BOLT

SN: 19001-UP

2шт.

14

07270-41017

TUBE

SN: 19001-UP

1шт.

15

07285-00130

CLIP

SN: 19001-UP

2шт.

16

07270-20440

TUBE

SN: 19001-UP

1шт.

17

08036-01814

CLIP

SN: 19001-UP

3шт.

18

01435-01016

BOLT

SN: 19001-UP

1шт.

19

08034-00414

BAND

SN: 19001-UP

5шт.

20

08034-00536

BAND

SN: 19001-UP

1шт.

Выбрано товаров: 24