Запчасти Komatsu WR8-1 АККУМУЛЯТОР КОМПОНЕНТЫ ДВИГАТЕЛЯ И ЭЛЕКТРИКА

Схема запчастей Komatsu WR8-1 - АККУМУЛЯТОР КОМПОНЕНТЫ ДВИГАТЕЛЯ И ЭЛЕКТРИКА
FIT
1:1
100%

Артикул

Название

Примечание

Количество

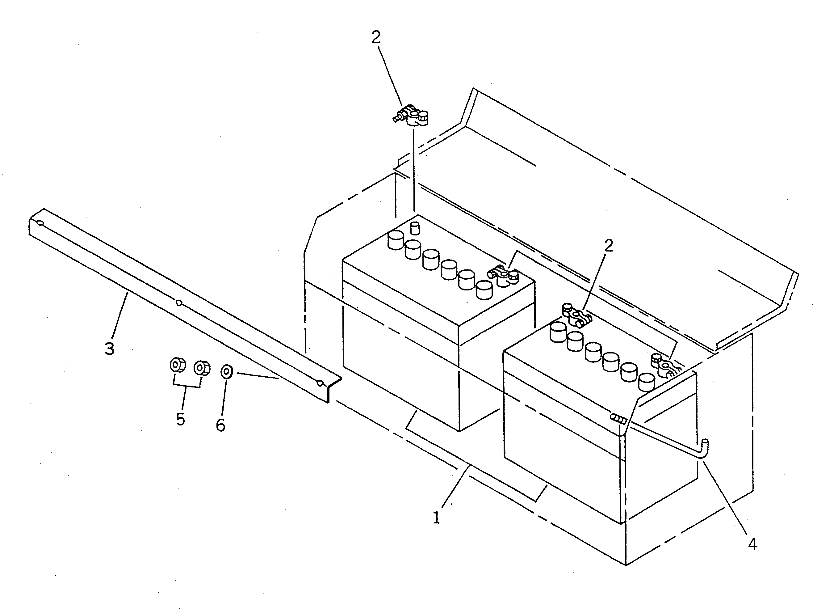
1

08000-32207

BATTERY (65D26R)

SN: 19001-UP

2шт.

|1

415-Z28-1400

BATTERY (95D31R)

SN: 19001-UP

2шт.

|1

08000-42207

BATTERY (65D26R),DRY TYPE

SN: 19001-UP

2шт.

2

08000-00000

TERMINAL¤ (+)

SN: 19001-UP

2шт.

|2

08000-00001

TERMINAL¤ (-)

SN: 19001-UP

2шт.

3

415-06-14120

HOLDER

SN: 19001-UP

1шт.

4

415-06-14130

ROD

SN: 19001-UP

3шт.

5

01580-10806

NUT

SN: 19001-UP

6шт.

6

154-61-16570

WASHER

SN: 19097-UP

3шт.

|6

01643-30823

WASHER

SN: 19001-19096

3шт.

Выбрано товаров: 10