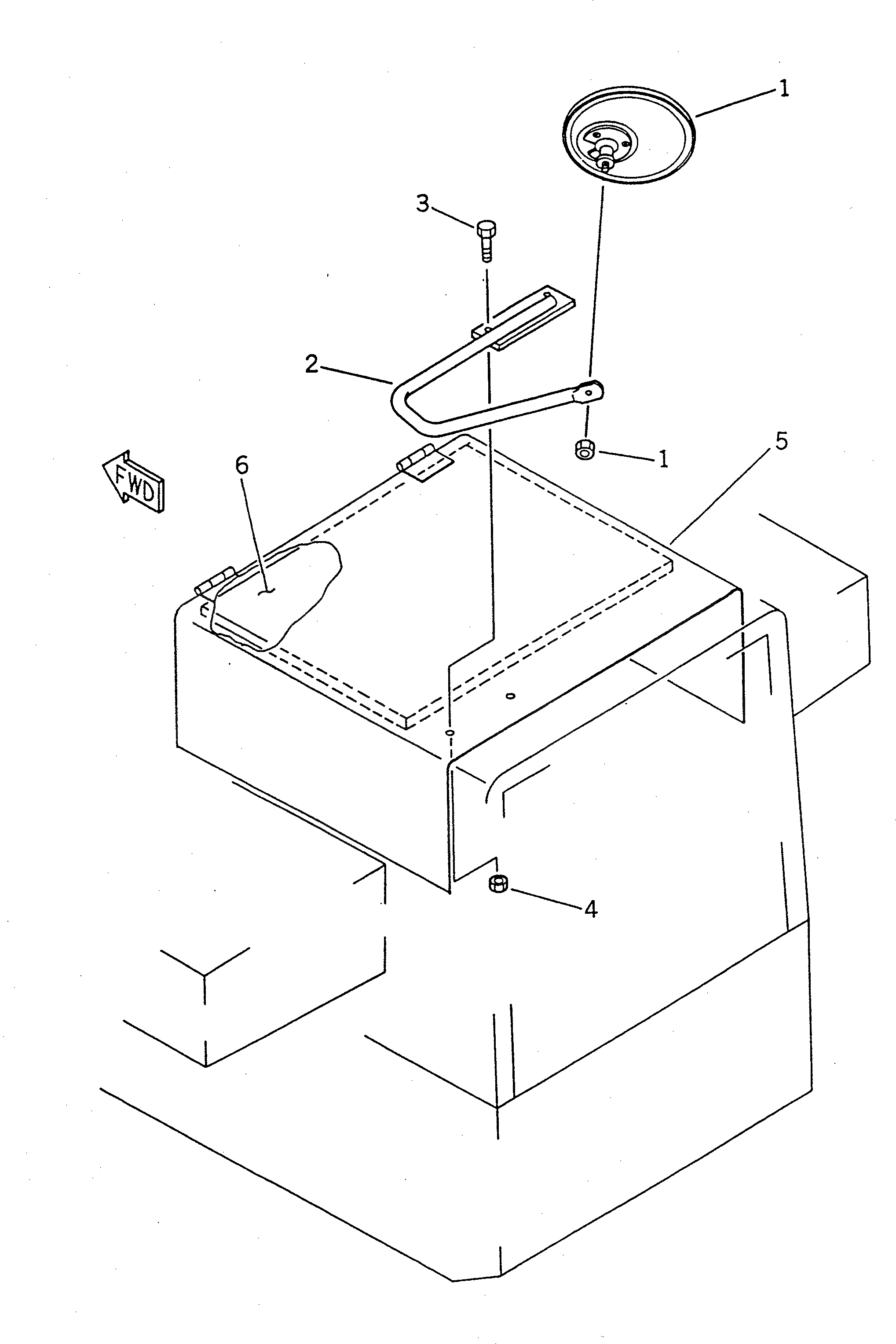
Запчасти Komatsu WR8-1 НИЖН. ЗЕРКАЛО РАМА И ЧАСТИ КОРПУСА

Схема запчастей Komatsu WR8-1 - НИЖН. ЗЕРКАЛО РАМА И ЧАСТИ КОРПУСА
FIT
1:1
100%

Артикул

Название

Примечание

Количество

1

418-976-1110

MIRROR

SN: 19001-UP

1шт.

2

418-976-1120

STAY

SN: 19001-UP

1шт.

3

01435-01225

BOLT

SN: 19001-UP

2шт.

4

01584-01210

NUT

SN: 19001-UP

2шт.

5

415-976-1110

HOOD,(MODIFIED PARTS)

SN: 19001-UP

1шт.

6

415-976-1120

SHEET

SN: 19001-UP

1шт.

Выбрано товаров: 6