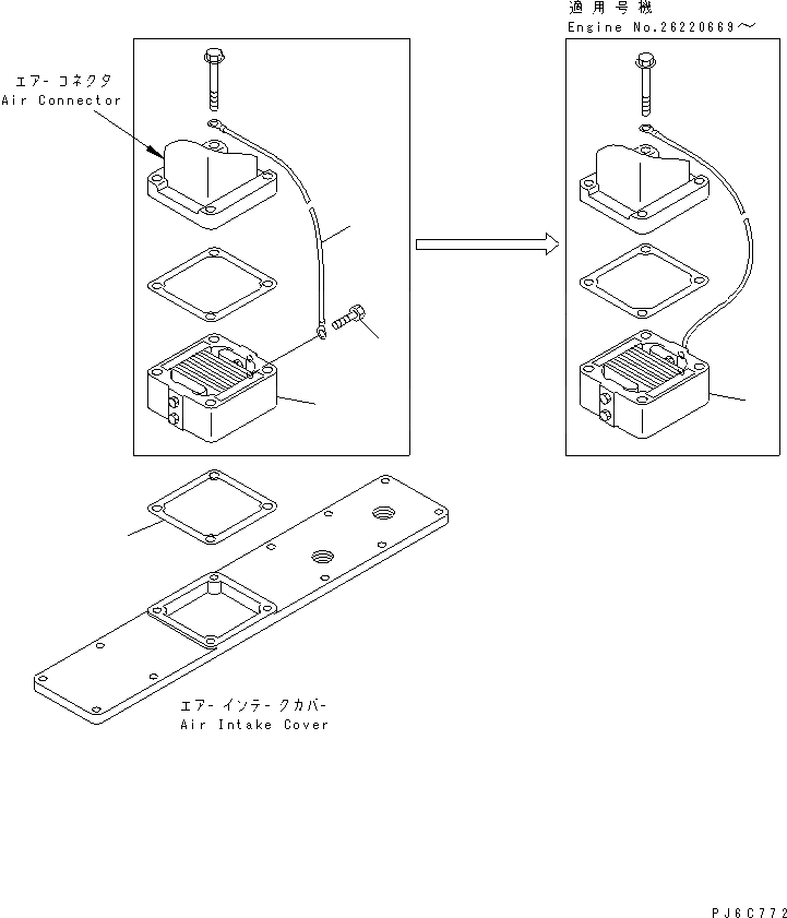
Запчасти Komatsu 6D102E-1F-C1 ПОДОГРЕВАТЕЛЬ ВПУСКА ВОЗДУХА ДВИГАТЕЛЬ

Схема запчастей Komatsu 6D102E-1F-C1 - ПОДОГРЕВАТЕЛЬ ВПУСКА ВОЗДУХА ДВИГАТЕЛЬ
1
1
1
2
3
FIT
1:1
100%

Артикул

Название

Примечание

Количество

1

6732-81-5120

HEATER ASS'Y

SN: 26215803-UP

1шт.

2

6732-81-4610

HARNESS

SN: 26215803-26220668

1шт.

3

6754-11-4120

GASKET

SN: 26385271-UP

1шт.

|$4

0

GASKET

SN: 26220669-26385270

1шт.

|$5

0

GASKET

SN: 26215803-26220668

1шт.

Выбрано товаров: 5