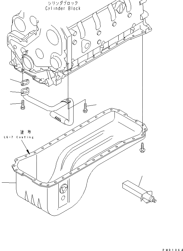
Запчасти Komatsu 6D102E-1F-C1 МАСЛЯНЫЙ ПОДДОН И ВСАСЫВАЮЩИЙ ПАТРУБОК(№8-997) ДВИГАТЕЛЬ

Схема запчастей Komatsu 6D102E-1F-C1 - МАСЛЯНЫЙ ПОДДОН И ВСАСЫВАЮЩИЙ ПАТРУБОК(№8-997) ДВИГАТЕЛЬ
1
2
3
4
5
6
FIT
1:1
100%

Артикул

Название

Примечание

Количество

1

6735-51-5531

TUBE,SUCTION

SN: 26215803-26219097

1шт.

2

6732-21-5510

GASKET

SN: 26215803-26219097

1шт.

3

6732-71-3220

BOLT

SN: 26215803-26219097

1шт.

4

6732-21-6630

BOLT

SN: 26215803-26219097

2шт.

5

6735-21-5140

PAN,OIL

SN: 26215803-26219097

1шт.

6

09920-00150

LIQUID GASKET,LG-7, 150G

SN: 26215803-26219097

-2шт.

Выбрано товаров: 0