Запчасти Komatsu FSH459-1 БОКОВ. СДВИГER (ТРУБЫ) (КРЮК ТИП) (ШИР.=9MM)(№-) БОКОВ. СДВИГER (ДЛЯ FFV CYL МАЧТА) (КРЮК ТИП/РОЛИК ТИП)

Схема запчастей Komatsu FSH459-1 - БОКОВ. СДВИГER (ТРУБЫ) (КРЮК ТИП) (ШИР.=9MM)(№-) БОКОВ. СДВИГER (ДЛЯ FFV CYL МАЧТА) (КРЮК ТИП/РОЛИК ТИП)
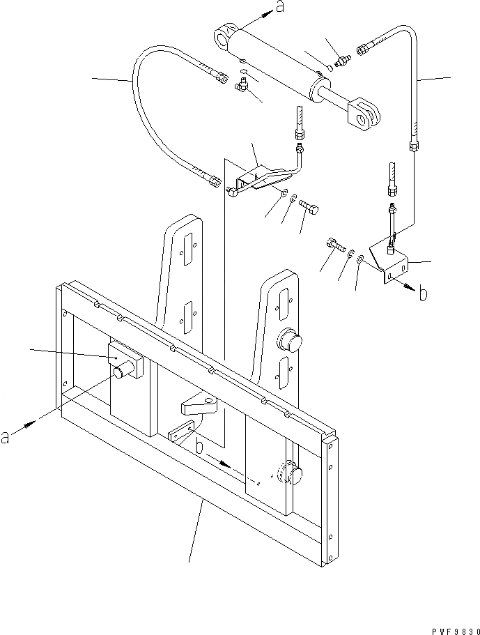
1
2
3
4
5
5
6
6
7
7
8
9
10
11
12
12
FIT
1:1
100%

Артикул

Название

Примечание

Количество

1

37C-ZV7-4010SG

BOARD

SN: 0001-UP

1шт.

2

45C-BFS-1150

BRACKET (WELDED)

SN: 0001-UP

1шт.

3

45C-DFS-1410SG

PIPE,L.H.

SN: 0001-UP

1шт.

4

45C-DFS-2420SG

PIPE

SN: 0001-UP

1шт.

5

01010-80820

BOLT

SN: 0001-UP

4шт.

6

01602-20825

WASHER,SPRING

SN: 0001-UP

4шт.

7

01640-20816

WASHER

SN: 0001-UP

4шт.

8

07627-00203

HOSE

SN: 0001-UP

1шт.

9

07627-00204

HOSE

SN: 0001-UP

1шт.

10

45B-1FS-6310

UNION

SN: 0001-UP

1шт.

11

07235-10210

ELBOW

SN: 0001-UP

1шт.

12

07002-11423

O-RING

SN: 0001-UP

2шт.

Выбрано товаров: 12