Запчасти Komatsu FSA302-2 БОКОВ. СДВИГER (ТРУБЫ) БОКОВ. СДВИГER (ДЛЯ FV МАЧТА) (INTEGRAL ТИП)

Схема запчастей Komatsu FSA302-2 - БОКОВ. СДВИГER (ТРУБЫ) БОКОВ. СДВИГER (ДЛЯ FV МАЧТА) (INTEGRAL ТИП)
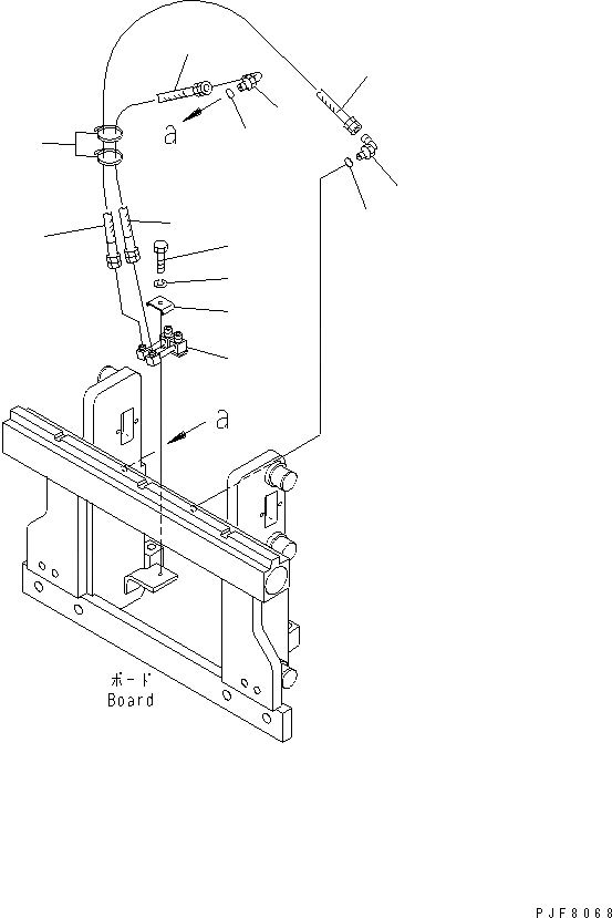
1
2
3
4
5
6
6
7
7
8
8
9
10
FIT
1:1
100%

Артикул

Название

Примечание

Количество

1

45B-1FA-2190SA

PIPE

SN: 1001-UP

1шт.

2

45B-1FS-7320

CLAMP

SN: 1001-UP

1шт.

3

01010-80830

BOLT

SN: 1001-UP

1шт.

4

01602-20825

WASHER,SPRING

SN: 1001-UP

1шт.

5

07235-10210

ELBOW

SN: 1001-UP

1шт.

6

07002-11423

O-RING

SN: 1001-UP

2шт.

7

07627-002A3

HOSE

SN: 1001-UP

1шт.

8

07627-00206

HOSE

SN: 1001-UP

1шт.

|$14

07627-00205

HOSE,(FOR COMPACT)

SN: 1001-UP

1шт.

9

37B-1AE-6010

BAND

SN: 1001-UP

2шт.

10

45B-1FS-1731

ELBOW

SN: 1001-UP

1шт.

Выбрано товаров: 11