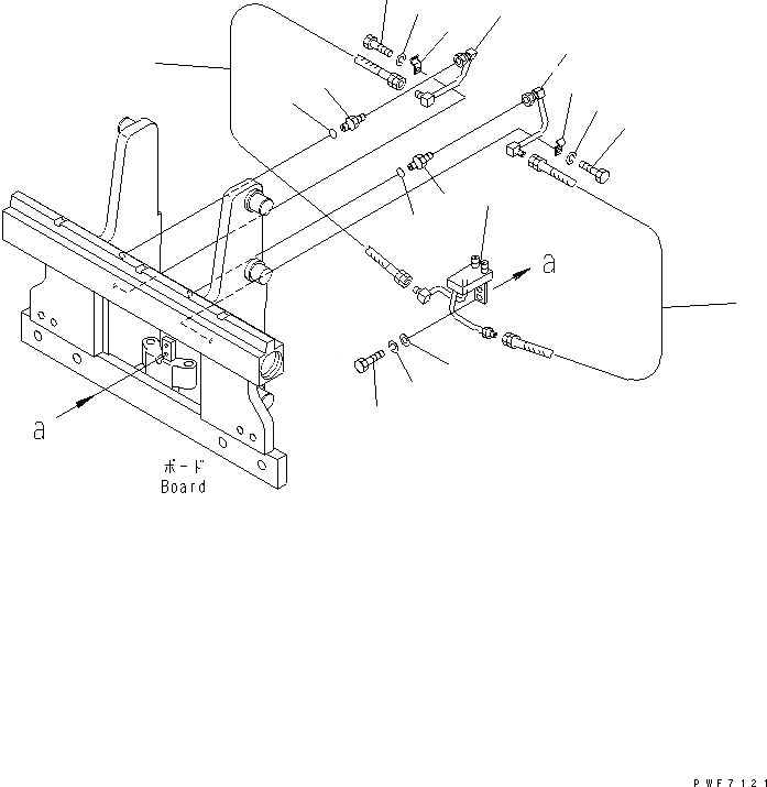
Запчасти Komatsu FSA251-1 БОКОВ. СДВИГER (ТРУБЫ) БОКОВ. СДВИГER (ДЛЯ FFV МАЧТА)

Схема запчастей Komatsu FSA251-1 - БОКОВ. СДВИГER (ТРУБЫ) БОКОВ. СДВИГER (ДЛЯ FFV МАЧТА)
1
2
3
4
5
5
6
6
7
8
9
9
10
10
11
11
12
12
FIT
1:1
100%

Артикул

Название

Примечание

Количество

1

45B-BFA-1570SA

PIPE

SN: 1001-UP

1шт.

2

01010-80825

BOLT

SN: 1001-UP

2шт.

3

01602-20825

WASHER,SPRING

SN: 1001-UP

2шт.

4

01643-30823

WASHER

SN: 1001-UP

2шт.

5

07230-20210

UNION

SN: 1001-UP

2шт.

6

07002-11423

O-RING

SN: 1001-UP

2шт.

7

45B-AFA-1680SA

PIPE,(L.H.)

SN: 1001-UP

1шт.

8

45B-1FA-1690SA

PIPE,(R.H.)

SN: 1001-UP

1шт.

9

07627-002A3

HOSE

SN: 1001-UP

2шт.

10

300-63-35120

CLIP

SN: 1001-UP

2шт.

11

01010-80810

BOLT

SN: 1001-UP

2шт.

12

01602-20825

WASHER,SPRING

SN: 1001-UP

2шт.

Выбрано товаров: 12