Запчасти Komatsu FMS708-1 ВИЛЫ ПОЗИЦИОНЕР (РОЛИК) ВИЛЫ ПОЗИЦИОНЕР (С S/S) (INDEPENDENT STROKE) (ВАЛ ТИП)

Схема запчастей Komatsu FMS708-1 - ВИЛЫ ПОЗИЦИОНЕР (РОЛИК) ВИЛЫ ПОЗИЦИОНЕР (С S/S) (INDEPENDENT STROKE) (ВАЛ ТИП)
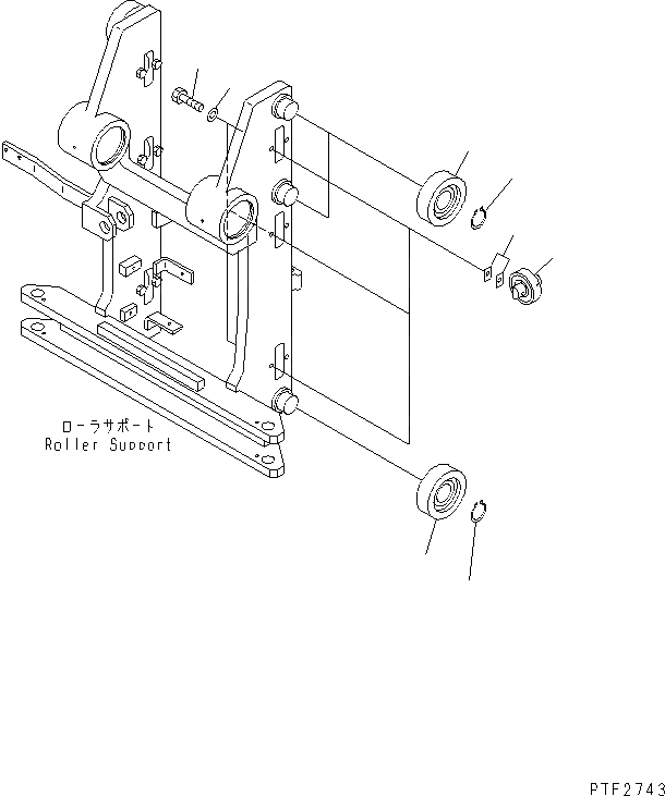
1
1
2
2
3
4
5
6
FIT
1:1
100%

Артикул

Название

Примечание

Количество

1

3ED-71-41760

BEARING

SN: 1001-UP

6шт.

2

04064-05520

RING,SNAP

SN: 1001-UP

6шт.

3

3FD-71-63911

ROLLER

SN: 1001-UP

6шт.

4

3FD-71-00010

SHIM ASS'Y

SN: 1001-UP

1шт.

|$7

0

SHIM, 0.5MM

SN: 1001-UP

-2шт.

|$8

0

SHIM, 1.0MM

SN: 1001-UP

-2шт.

|$9

0

SHIM, 2.0MM

SN: 1001-UP

-2шт.

5

01010-81065

BOLT

SN: 1001-UP

12шт.

6

01643-31032

WASHER

SN: 1001-UP

12шт.

Выбрано товаров: 9