Запчасти Komatsu RFE158-2 ВРАЩАЮЩ. ВИЛЫ (КРЮК ТИП) ТРУБЫ ВРАЩАЮЩ. ВИЛЫ (КРЮК ТИП) (EXCLUSIVE ЧАСТИ ДЛЯ FV МАЧТА)

Схема запчастей Komatsu RFE158-2 - ВРАЩАЮЩ. ВИЛЫ (КРЮК ТИП) ТРУБЫ ВРАЩАЮЩ. ВИЛЫ (КРЮК ТИП) (EXCLUSIVE ЧАСТИ ДЛЯ FV МАЧТА)
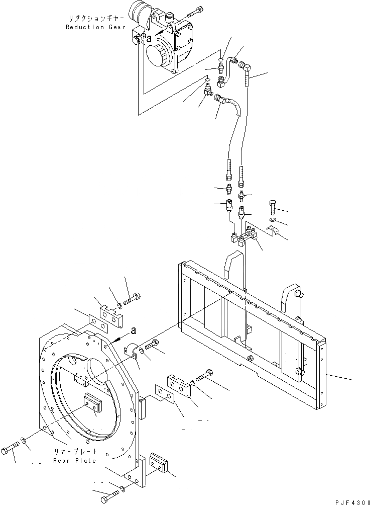
1
2
3
4
5
6
7
7
8
9
10
10
11
11
12
13
14
15
16
17
17
18
18
19
19
20
20
21
21
22
22
23
23
FIT
1:1
100%

Артикул

Название

Примечание

Количество

1

45B-1BS-5560SA

PIPE

SN: 1001-UP

1шт.

2

45A-271-1370YK

CLAMP

SN: 1001-UP

1шт.

3

01010-80830

BOLT

SN: 1001-UP

1шт.

4

01602-20825

WASHER,SPRING

SN: 1001-UP

1шт.

5

3EA-71-16170

NIPPLE

SN: 1001-UP

1шт.

6

3ED-66-41240

ELBOW

SN: 1001-UP

1шт.

7

07000-22014

O-RING

SN: 1001-UP

2шт.

8

3EA-71-16630

HOSE

SN: 1001-UP

1шт.

9

37R-503-1180

HOSE

SN: 1001-UP

1шт.

10

300-868-2680

NIPPLE

SN: 1001-UP

2шт.

11

300-868-2690

COUPLER

SN: 1001-UP

2шт.

12

45A-ARF-1720SA

PIPE

SN: 1001-UP

1шт.

13

37A-ZYR-7010SA

BOARD

SN: 1001-UP

1шт.

14

45B-ARF-1770YK

BRACKET

SN: 1001-UP

1шт.

15

01010-81025

BOLT

SN: 1001-UP

2шт.

16

01602-21030

WASHER,SPRING

SN: 1001-UP

2шт.

17

45B-ARF-1790YK

HOOK

SN: 1001-UP

2шт.

18

01010-81660

BOLT

SN: 1001-UP

4шт.

19

01602-21648

WASHER,SPRING

SN: 1001-UP

4шт.

20

46B-1PA-4380YK

HOOK

SN: 1001-UP

2шт.

21

46B-1PA-4390YK

SPACER

SN: 1001-UP

2шт.

22

01050-52040

BOLT

SN: 1001-UP

4шт.

23

01602-22060

WASHER,SPRING

SN: 1001-UP

4шт.

Выбрано товаров: 23