Запчасти Komatsu FD20H 4-Х СЕКЦИОНН. УПРАВЛЯЮЩ. КЛАПАН И ЭЛЕМЕНТЫ КРЕПЛЕНИЯ ГИДРАВЛИКА

Схема запчастей Komatsu FD20H - 4-Х СЕКЦИОНН. УПРАВЛЯЮЩ. КЛАПАН И ЭЛЕМЕНТЫ КРЕПЛЕНИЯ ГИДРАВЛИКА
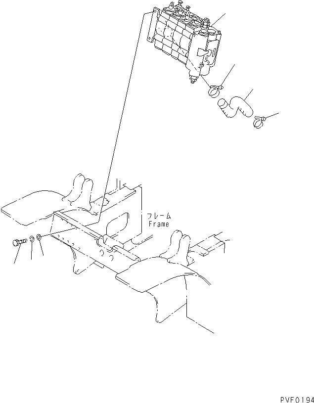
1
2
3
4
5
6
7
FIT
1:1
100%

Артикул

Название

Примечание

Количество

1

3EB-61-34111

VALVE ASS'Y

SN: 517784-UP

1шт.

|$2

0

VALVE ASS'Y

SN: 500001-517783

1шт.

2

01643-51032

WASHER

SN: 500001-UP

3шт.

3

01050-51030

BOLT

SN: 500001-UP

3шт.

4

01602-21030

WASHER,SPRING

SN: 500001-UP

3шт.

5

3EB-66-33940

HOSE

SN: 500001-UP

1шт.

6

07281-00419

CLAMP

SN: 546062-UP

1шт.

|$8

0

CLAMP

SN: 500001-546061

1шт.

7

07281-00489

CLAMP

SN: 546062-UP

1шт.

|$10

0

CLAMP

SN: 500001-546061

1шт.

Выбрано товаров: 0