Запчасти Komatsu FD18-17 ПРИБОРНАЯ ПАНЕЛЬ ТРУБЫ (ДЛЯ 3-Х СЕКЦИОНН. КОНТРОЛЬН. КЛАПАН TFV МАЧТА) РАБОЧЕЕ ОБОРУДОВАНИЕ

Схема запчастей Komatsu FD18-17 - ПРИБОРНАЯ ПАНЕЛЬ ТРУБЫ (ДЛЯ 3-Х СЕКЦИОНН. КОНТРОЛЬН. КЛАПАН TFV МАЧТА) РАБОЧЕЕ ОБОРУДОВАНИЕ
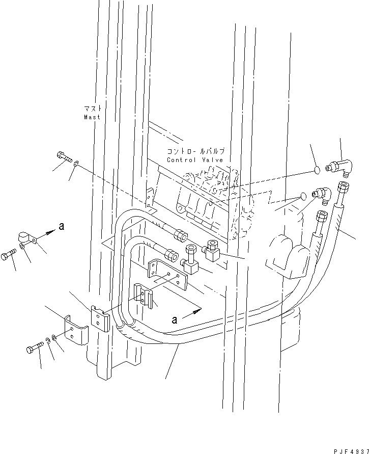
1
2
3
3
4
5
6
7
7
8
9
10
11
12
13
14
15
16
17
18
FIT
1:1
100%

Артикул

Название

Примечание

Количество

1

3EB-66-11440

ELBOW

SN: 630001-UP

1шт.

2

3EB-66-11450

ELBOW

SN: 630001-UP

1шт.

3

540-62-13330

O-RING

SN: 630001-UP

2шт.

4

07123-00307

HOSE

SN: 630001-UP

1шт.

5

07123-00306

HOSE

SN: 630001-UP

1шт.

6

304-868-2240

CLAMP

SN: 630001-UP

1шт.

7

304-868-2250

RUBBER

SN: 630001-UP

2шт.

8

01010-80845

BOLT

SN: 630001-UP

2шт.

9

01602-20825

WASHER,SPRING

SN: 630001-UP

2шт.

10

01642-20810

WASHER

SN: 630001-UP

2шт.

11

45B-275-1661

ELBOW

SN: 630001-UP

1шт.

12

3EA-66-14290

PIPE

SN: 630001-UP

1шт.

13

3EA-66-36611

PLATE

SN: 630001-UP

1шт.

14

01010-80825

BOLT

SN: 630001-UP

2шт.

15

01602-20825

WASHER,SPRING

SN: 630001-UP

2шт.

16

04434-51908

CLIP

SN: 630001-UP

1шт.

|$21

04434-52511

CLIP,(WET CLUTCH SPEC.)

SN: 630001-UP

1шт.

17

01010-80816

BOLT

SN: 630001-UP

1шт.

18

01643-30823

WASHER

SN: 630001-UP

1шт.

Выбрано товаров: 0