Запчасти Komatsu FD30H-14 ПОЛ КАБИНЫ (МУФТА СПЕЦ-Я.) ЧАСТИ КОРПУСА И КАБИНА ОПЕРАТОРА

Схема запчастей Komatsu FD30H-14 - ПОЛ КАБИНЫ (МУФТА СПЕЦ-Я.) ЧАСТИ КОРПУСА И КАБИНА ОПЕРАТОРА
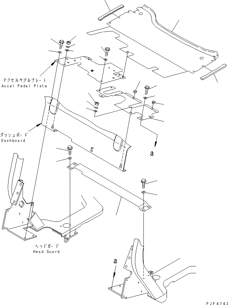
1
2
2
3
4
4
5
5
6
6
7
7
8
8
8
9
9
9
10
11
11
12
12
FIT
1:1
100%

Артикул

Название

Примечание

Количество

1

3EB-50-33111YD

PLATE,FLOOR

SN: 550001-UP

1шт.

2

3EB-50-33150

RUBBER

SN: 550001-UP

2шт.

3

3EB-50-33132YD

PLATE,FLOOR

SN: 550001-UP

1шт.

4

3EB-50-33160

RUBBER

SN: 550001-UP

2шт.

5

34A-60-14310

NUT

SN: 550001-UP

3шт.

6

01602-20825

WASHER,SPRING

SN: 550001-UP

3шт.

7

34A-50-22140

WASHER

SN: 550001-UP

3шт.

8

F1110-50820

BOLT

SN: 550001-UP

6шт.

9

34A-50-22140

WASHER

SN: 550001-UP

6шт.

10

3EB-51-31470SA

PLATE

SN: 550001-UP

1шт.

11

F1110-50820

BOLT

SN: 550001-UP

4шт.

12

34A-50-22140

WASHER

SN: 550001-UP

4шт.

Выбрано товаров: 12