Запчасти Komatsu FD250Z-6 КОНДИЦ. ВОЗДУХА (КОНДЕНСАТОР И COVER) (ВНУТР. ЧАСТИ) ЧАСТИ КОРПУСА И КАБИНА ОПЕРАТОРА

Схема запчастей Komatsu FD250Z-6 - КОНДИЦ. ВОЗДУХА (КОНДЕНСАТОР И COVER) (ВНУТР. ЧАСТИ) ЧАСТИ КОРПУСА И КАБИНА ОПЕРАТОРА
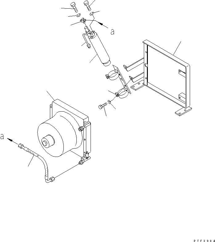
1
2
3
4
5
6
7
8
8
9
10
10
11
FIT
1:1
100%

Артикул

Название

Примечание

Количество

|$1

3EF-52-61210

CONDENSER ASS'Y

SN: 3301-UP

1шт.

1

3EF-94-42220

CONDENSER

SN: 3301-UP

1шт.

2

3EF-94-42230

RECEIVER

SN: 3301-UP

1шт.

3

3EF-94-42240

HOLDER

SN: 3301-UP

1шт.

4

3EF-94-42250

HOSE

SN: 3301-UP

1шт.

5

3EF-94-42260

JOINT

SN: 3301-UP

1шт.

6

3EF-94-42270

TUBE

SN: 3301-UP

1шт.

7

3EF-52-61220

BRACKET

SN: 3301-UP

1шт.

8

01010-80620

BOLT

SN: 3301-UP

2шт.

9

01010-80816

BOLT

SN: 3301-UP

2шт.

10

01602-20619

WASHER,SPRING

SN: 3301-UP

2шт.

11

01602-20825

WASHER,SPRING

SN: 3301-UP

2шт.

Выбрано товаров: 12