Запчасти Komatsu FD200Z-6 ГИДР. БАК. AND COVER ГИДРАВЛИКА

Схема запчастей Komatsu FD200Z-6 - ГИДР. БАК. AND COVER ГИДРАВЛИКА
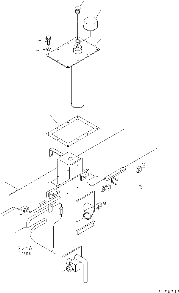
1
2
3
4
5
6
FIT
1:1
100%

Артикул

Название

Примечание

Количество

1

3EF-66-61810YL

COVER

SN: 2351-UP

1шт.

|$3

3EF-66-61810YS

COVER

SN: 2301-2350

1шт.

2

3EE-05-11120

PACKING

SN: 2301-UP

1шт.

3

01435-40820

BOLT

SN: 2351-UP

10шт.

|$6

01435-00820

BOLT

SN: 2301-2350

10шт.

4

07005-00812

GASKET

SN: 2301-UP

10шт.

5

3EF-66-61820

CAP

SN: 2301-UP

1шт.

6

3EF-66-61830

BREATHER ASS'Y,AIR

SN: 2301-UP

1шт.

Выбрано товаров: 8