Запчасти Komatsu FD115-7 БОКОВ. СДВИГER (С ГИДРАВЛ ВИЛЫ ПОЗИЦИОНЕР) (РАМА) РАБОЧЕЕ ОБОРУДОВАНИЕ

Схема запчастей Komatsu FD115-7 - БОКОВ. СДВИГER (С ГИДРАВЛ ВИЛЫ ПОЗИЦИОНЕР) (РАМА) РАБОЧЕЕ ОБОРУДОВАНИЕ
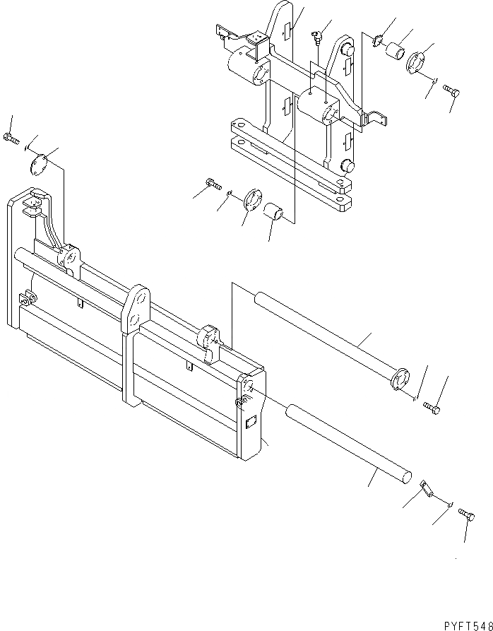
1
2
3
4
5
6
7
8
9
10
10
11
11
12
12
13
14
15
16
16
17
18
FIT
1:1
100%

Артикул

Название

Примечание

Количество

1

45E-2FH-5110YK

SHIFT FRAME

SN: 6001-UP

1шт.

2

3EE-72-23410

SHAFT

SN: 6001-UP

2шт.

3

45E-4FH-5840SA

PLATE

SN: 6001-UP

2шт.

4

01010-81645

BOLT

SN: 6001-UP

4шт.

5

01643-31645

WASHER

SN: 6001-UP

4шт.

6

45E-2FH-5210YK

ROLLER SUPPORT

SN: 6001-UP

1шт.

7

45E-1FH-5280

SHAFT

SN: 6001-UP

1шт.

8

01010-81645

BOLT

SN: 6001-UP

4шт.

9

01643-31645

WASHER

SN: 6001-UP

4шт.

10

45E-1FH-5850SA

PLATE

SN: 6001-UP

4шт.

11

01010-80820

BOLT

SN: 6001-UP

16шт.

12

01643-30823

WASHER

SN: 6001-UP

16шт.

13

45E-2FH-5280SA

PLATE

SN: 6001-UP

1шт.

14

01010-80820

BOLT

SN: 6001-UP

4шт.

15

01643-30823

WASHER

SN: 6001-UP

4шт.

16

45E-1FH-5450

BUSHING

SN: 6001-UP

4шт.

17

45E-1FH-5790

COLLAR

SN: 6001-UP

2шт.

18

07020-00900

FITTING

SN: 6001-UP

4шт.

Выбрано товаров: 18