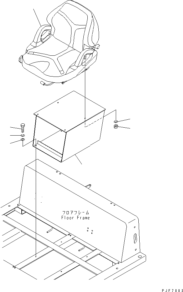
Запчасти Komatsu FD100-7 СИДЕНЬЕ ОПЕРАТОРА(№-.) ЧАСТИ КОРПУСА И КАБИНА ОПЕРАТОРА

Схема запчастей Komatsu FD100-7 - СИДЕНЬЕ ОПЕРАТОРА(№-.) ЧАСТИ КОРПУСА И КАБИНА ОПЕРАТОРА
1
2
3
4
5
6
7
FIT
1:1
100%

Артикул

Название

Примечание

Количество

1

3FE-53-31120YY

BRACKET

SN: 6001-@

1шт.

2

3EB-50-31221

SEAT ASS'Y,(SEE FIG.P4110-51A1)

SN: 6001-@

1шт.

3

01010-80816

BOLT

SN: 6001-.

4шт.

4

01602-20825

WASHER,SPRING

SN: 6001-.

4шт.

5

01642-20810

WASHER

SN: 6001-.

4шт.

6

01580-10806

NUT

SN: 6001-@

4шт.

7

01602-20825

WASHER,SPRING

SN: 6001-@

4шт.

Выбрано товаров: 7